凯普生物:2024年上半年亏损7692.92万元

中证智能财讯 凯普生物(300639)8月29日披露2024年半年报。2024年上半年,公司实现营业总收入4.09亿元,同比下降32.60%;归母净利润亏损7692.92万元,上年同期盈利1.23亿元;扣非净利润亏损8564.63万元,上年同期盈利1.02亿元;经营活动产生的现金流量净额为-3322.41万元,上年同期为7208.61万元;报告期内,凯普生物基本每股收益为-0.1195元,加权平均净资产收益率为-1.60%。
公告称,公司营业收入变化主要由于销售价格下跌及检验收入下降;归母净利润变化主要由于收入减少。

以8月28日收盘价计算,凯普生物目前市盈率(TTM)约为-61.82倍,市净率(LF)约为0.78倍,市销率(TTM)约为4.04倍。

公司近年市盈率(TTM)、市净率(LF)、市销率(TTM)历史分位图如下所示:



根据半年报,公司第二季度实现营业总收入2.26亿元,同比下降25.86%,环比增长23.31%;归母净利润-6257.45万元,同比下降208.85%,环比下降335.91%;扣非净利润-6968.69万元,同比下降264.60%,环比下降336.65%。

资料显示,公司是分子诊断产品和服务的一体化供应商,构建了“核酸检测产品+医学检验服务”的一体化经营模式,并在医疗健康方面提供体检及诊疗服务。公司主要产品属于医疗器械领域的体外诊断产品,具体细分属于体外诊断中技术要求较高、发展快速的分子诊断领域。
2024年上半年,公司毛利率为53.64%,同比下降11.50个百分点;净利率为-31.64%,较上年同期下降46.37个百分点。从单季度指标来看,2024年第二季度公司毛利率为56.35%,同比下降12.26个百分点,环比上升6.04个百分点;净利率为-44.98%,较上年同期下降59.12个百分点,较上一季度下降29.80个百分点。

数据显示,2024年上半年公司加权平均净资产收益率为-1.60%,较上年同期下降4.23个百分点;公司2024年上半年投入资本回报率为-2.79%,较上年同期下降4.34个百分点。

2024年上半年,公司经营活动现金流净额为-3322.41万元,同比减少1.05亿元,主要系销售商品、提供劳务收到的现金减少所致;筹资活动现金流净额-5823.84万元,同比增加1.38亿元,主要系支付股利的资金减少所致;投资活动现金流净额3364.02万元,上年同期为-1.21亿元,主要系购买固定资产等长期资产的支出减少所致。
进一步统计发现,2024年上半年公司自由现金流为484.81万元,上年同期为-12796.97万元。

2024年上半年,公司营业收入现金比为126.77%。

营运能力方面,2024年上半年,公司总资产周转率为0.07次,上年同期为0.09次(2023年上半年行业平均值为0.14次,公司位居同行业25/39);固定资产周转率为0.33次,上年同期为0.49次(2023年上半年行业平均值为1.12次,公司位居同行业35/39);公司应收账款周转率、存货周转率分别为0.23次、1.89次。

2024年上半年,公司期间费用为2.84亿元,较上年同期减少2102.14万元;但期间费用率为69.34%,较上年同期上升19.14个百分点。其中,销售费用同比增长13.16%,管理费用同比下降4.03%,研发费用同比下降35.58%,财务费用同比下降56.93%。
资料显示,财务费用的变动主要因为汇兑损失减少。

资产重大变化方面,截至2024年上半年末,公司交易性金融资产较上年末减少47.87%,占公司总资产比重下降2.41个百分点;固定资产较上年末减少0.20%,占公司总资产比重上升1.17个百分点;应收账款较上年末减少7.66%,占公司总资产比重下降0.83个百分点;在建工程较上年末增加13.85%,占公司总资产比重上升0.61个百分点。

负债重大变化方面,截至2024年上半年末,公司应交税费较上年末减少79.62%,占公司总资产比重下降1.14个百分点;长期借款较上年末增加86.70%,占公司总资产比重上升0.48个百分点,主要系凯普医学科学园专项借款;应付职工薪酬较上年末减少24.88%,占公司总资产比重下降0.30个百分点;应付账款较上年末减少12.19%,占公司总资产比重下降0.18个百分点。

从存货变动来看,截至2024年上半年末,公司存货账面价值为1.01亿元,占净资产的2.14%,较上年末增加139.91万元。其中,存货跌价准备为5548.76万元,计提比例为35.47%。

在偿债能力方面,公司2024年上半年末资产负债率为9.70%,相比上年末下降1.25个百分点;有息资产负债率为1.13%,相比上年末上升0.44个百分点。

2024年上半年,公司流动比率为7.32,速动比率为7.06。

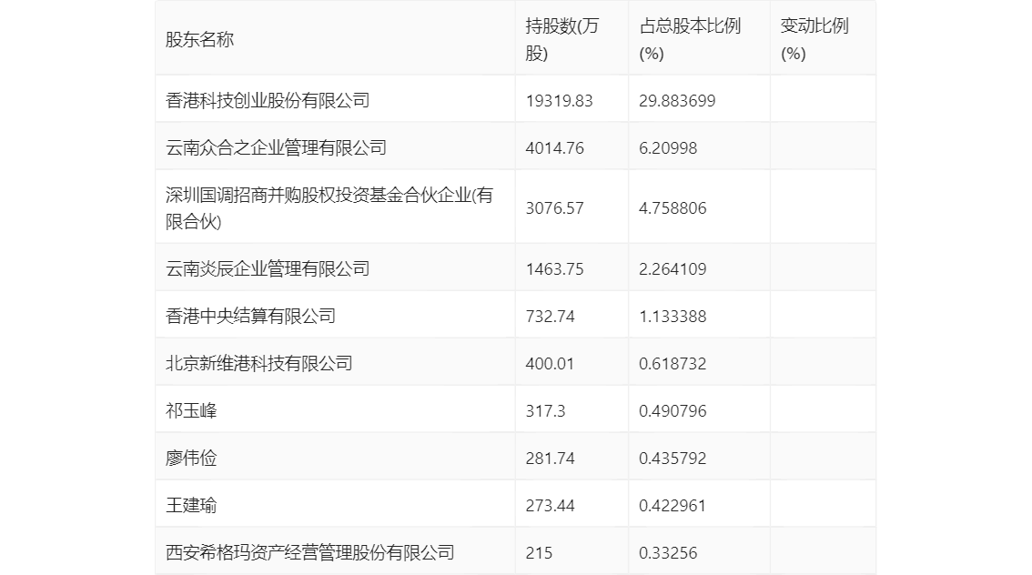
半年报显示,2024年上半年末公司十大流通股东中,新进股东为王建瑜、西安希格玛资产经营管理股份有限公司,取代了一季度末的陈海华、徐国新。在具体持股比例上,香港中央结算有限公司、祁玉峰持股有所上升,北京新维港科技有限公司、廖伟俭持股有所下降。

筹码集中度方面,截至2024年上半年末,公司股东总户数为3.38万户,较一季度末下降了1508户,降幅4.27%;户均持股市值由一季度末的12.91万元下降至8.79万元,降幅为31.91%。

指标注解:
市盈率
=总市值/净利润。当公司亏损时市盈率为负,此时用市盈率估值没有实际意义,往往用市净率或市销率做参考。
市净率
=总市值/净资产。市净率估值法多用于盈利波动较大而净资产相对稳定的公司。
市销率
=总市值/营业收入。市销率估值法通常用于亏损或微利的成长型公司。
文中市盈率和市销率采用TTM方式,即以截至最近一期财报(含预报)12个月的数据计算。市净率采用LF方式,即以最近一期财报数据计算。
市盈率为负时,不显示当期分位数,会导致折线图中断。