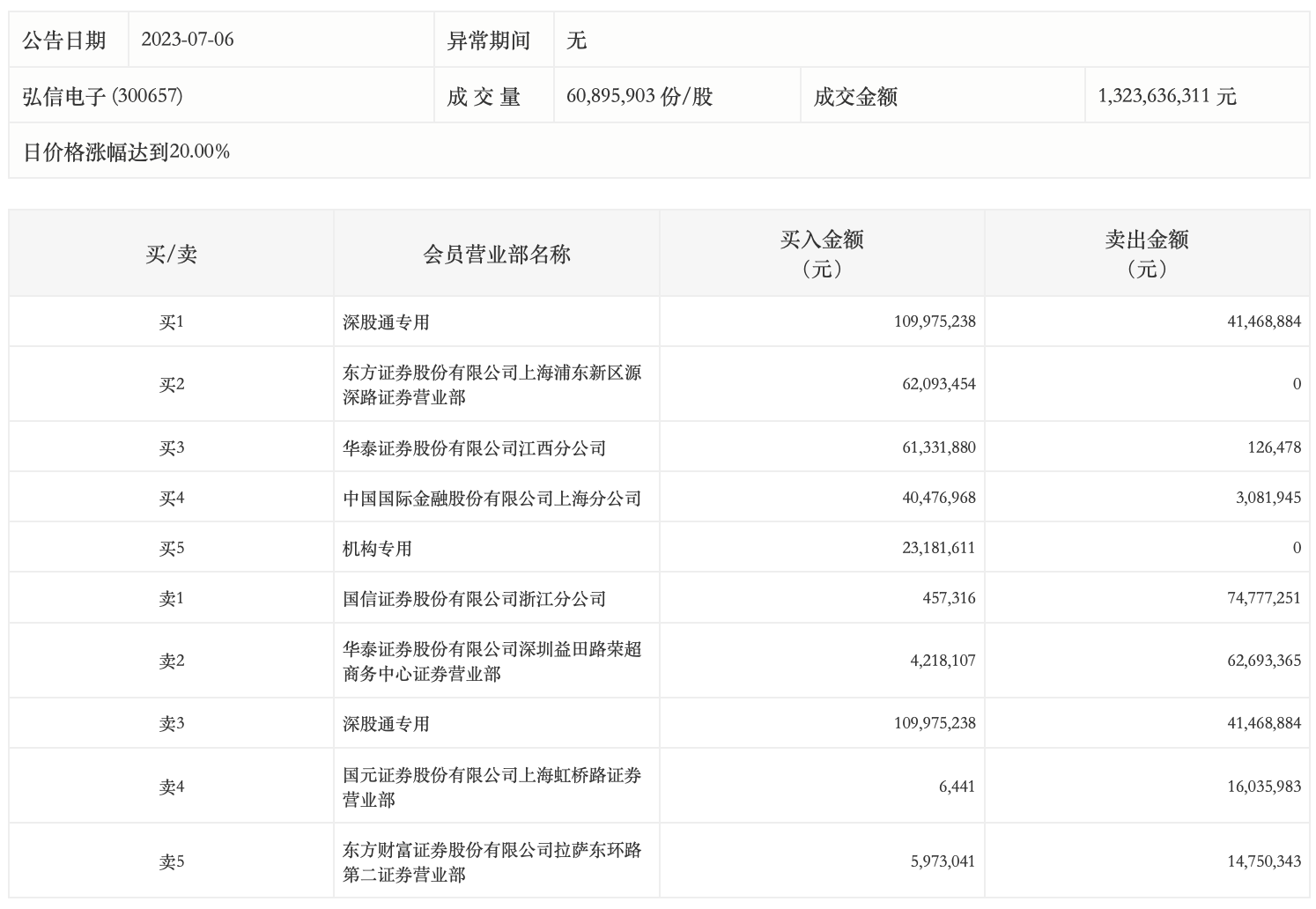
龙虎榜丨弘信电子今日涨停,机构合计净买入2318.16万元

http://ddx.gubit.cn  2023-07-06 16:39  弘信电子(300657)公司分析

7月6日,弘信电子今日涨停,龙虎榜数据显示,上榜营业部席位全天成交5.21亿元,占当日总成交金额比例为39.33%。其中,买入金额为3.08亿元,卖出金额为2.13亿元,合计净买入9477.98万元。

具体来看,机构合计净买入2318.16万元。此外,深股通专用、东方证券上海浦东新区源深路证券营业部分别买入1.10亿元、6209.35万元;国信证券浙江分公司、华泰证券深圳益田路荣超商务中心证券营业部分别卖出7477.73万元、6269.34万元。