龙虎榜丨中科信息今日涨停,机构合计净买入5069.71万元

http://ddx.gubit.cn  2023-04-28 23:03  中科信息(300678)公司分析

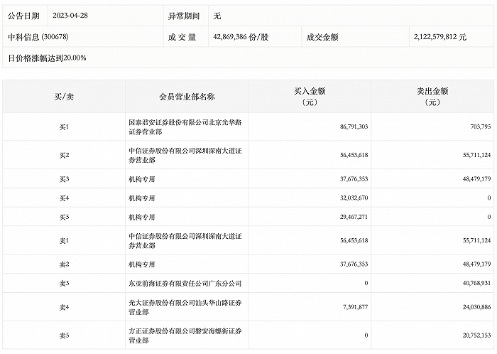
4月28日,中科信息今日涨停,龙虎榜数据显示,上榜营业部席位全天成交4.4亿元,占当日总成交金额比例为20.74%。其中,买入金额为2.5亿元,卖出金额为1.9亿元,合计净买入5936.7万元。

具体来看,机构买入9917.63万元,卖出4847.92万元,合计净买入5069.71万元。此外,国泰君安证券北京光华路证券营业部、中信证券深圳深南大道证券营业部分别买入8679.13万元、5645.36万元;中信证券深圳深南大道证券营业部、东亚前海证券广东分公司分别卖出5571.11万元、4076.89万元。