龙虎榜丨中科信息今日涨停,宁波桑田路、孙哥分别买入4457.41万元、4391.34万元

http://ddx.gubit.cn  2023-05-30 16:35  中科信息(300678)公司分析

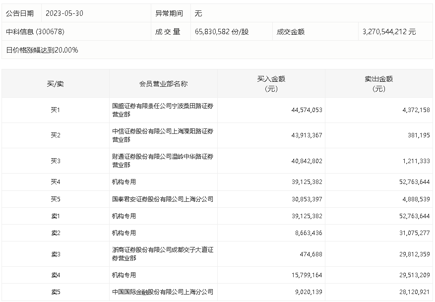
5月30日,中科信息今日涨停,龙虎榜数据显示,上榜营业部席位全天成交4.15亿元,占当日总成交金额比例为12.7%。其中,买入金额为2.33亿元,卖出金额为1.82亿元,合计净买入5112.78万元。

具体来看,机构买入6358.8万元,卖出1.13亿元,合计净卖出4976.41万元。此外,知名游资现身龙虎榜,宁波桑田路(国盛证券宁波桑田路证券营业部)、孙哥(中信证券上海溧阳路证券营业部)分别买入4457.41万元、4391.34万元;浙商证券成都交子大道证券营业部、中国国际金融上海分公司分别卖出2981.24万元、2812.09万元。