龙虎榜丨英搏尔今日涨停,机构合计净卖出881.57万元

http://ddx.gubit.cn  2023-10-20 17:01  英搏尔(300681)公司分析

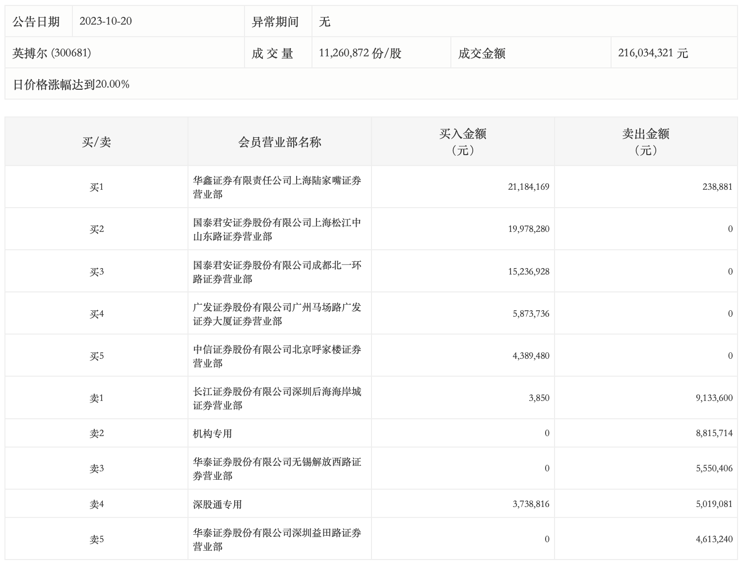
10月20日,英搏尔今日涨停,全天换手率达6.52%,振幅达10.72%。龙虎榜数据显示,营业部席位合计净买入3703.43万元。其中,机构合计净卖出881.57万元。此外,华鑫证券上海陆家嘴证券营业部、国泰君安证券上海松江中山东路证券营业部分别买入2118.42万元、1997.83万元;长江证券深圳后海海岸城证券营业部、华泰证券无锡解放西路证券营业部分别卖出913.36万元、555.04万元。