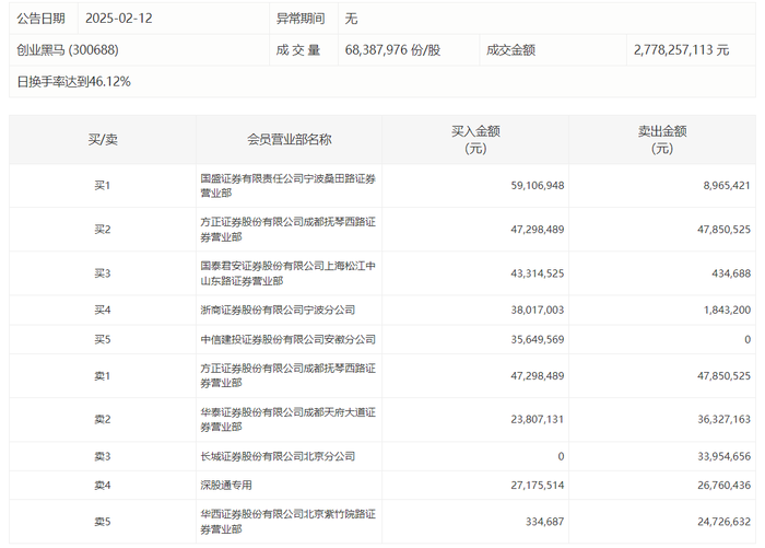
龙虎榜 | 创业黑马今日涨15.13%,宁波桑田路买入5910.69万元

查股网  2025-02-12 20:51  创业黑马(300688)个股分析

创业黑马今日涨15.13%,龙虎榜数据显示,上榜营业部席位全天成交4.56亿元,占当日总成交金额比例为16.4%。其中,买入金额为2.75亿元,卖出金额为1.81亿元,合计净买入9384.11万元。

具体来看,知名游资现身龙虎榜,宁波桑田路(国盛证券宁波桑田路证券营业部)、方正证券成都抚琴西路证券营业部分别买入5910.69万元、4729.85万元;方正证券成都抚琴西路证券营业部、华泰证券成都天府大道证券营业部分别卖出4785.05万元、3632.72万元。