双一科技:2024年上半年净利润2352.67万元 同比下降47.27%

中证智能财讯 双一科技(300690)8月8日披露2024年半年度报告。2024年上半年,公司实现营业收入3.63亿元,同比增长14.26%;归母净利润2352.67万元,同比下降47.27%;扣非净利润2962.92万元,同比下降36.79%;经营活动产生的现金流量净额为8258.19万元,同比下降25.52%;报告期内,双一科技基本每股收益为0.14元,加权平均净资产收益率为1.65%。

以8月7日收盘价计算,双一科技目前市盈率(TTM)约为50.26倍,市净率(LF)约为2.38倍,市销率(TTM)约为4.23倍。

公司近年市盈率(TTM)、市净率(LF)、市销率(TTM)历史分位图如下所示:



根据半年报,公司第二季度实现营业总收入2.32亿元,同比增长18.32%,环比增长77.95%;归母净利润2050.56万元,同比下降45.65%,环比增长578.75%;扣非净利润2208.18万元,同比下降43.29%,环比增长192.57%。

半年报显示,公司设立以来一直专注于复合材料的研发、生产、销售和服务。
分产品来看,2024年上半年公司主营业务中,非金属模具类收入1.60亿元,同比增长48.54%,占营业收入的44.18%;风电配套类收入1.27亿元,同比下降13.85%,占营业收入的35.04%;车辆覆盖件类收入0.60亿元,同比增长27.23%,占营业收入的16.50%。

2024年上半年,公司毛利率为23.50%,同比下降5.69个百分点;净利率为6.46%,较上年同期下降7.56个百分点。从单季度指标来看,2024年第二季度公司毛利率为24.39%,同比下降7.93个百分点,环比上升2.47个百分点;净利率为8.80%,较上年同期下降10.39个百分点,较上一季度上升6.51个百分点。

分产品看,非金属模具类、风电配套类、车辆覆盖件类2024年上半年毛利率分别为22.52%、24.89%、22.43%。

2024年上半年,公司经营活动现金流净额为8258.19万元,同比下降25.52%;筹资活动现金流净额-4553.24万元,同比减少1987.30万元,主要系本报告期支付的2023年度现金分红较上年同期支付的2022年度现金分红增加所致;投资活动现金流净额-7082.45万元,上年同期为-5624.18万元。
进一步统计发现,2024年上半年公司自由现金流为-1740.63万元,上年同期为3170.13万元。

2024年上半年,公司营业收入现金比为149.52%,净现比为351.01%。

营运能力方面,2024年上半年,公司公司总资产周转率为0.20次,上年同期为0.18次(2023年上半年行业平均值为0.20次,公司位居同行业13/20);固定资产周转率为0.99次,上年同期为0.88次(2023年上半年行业平均值为1.00次,公司位居同行业12/20);公司应收账款周转率、存货周转率分别为1.04次、1.22次。

2024年上半年,公司期间费用为4045.04万元,同比减少69.5万元;期间费用率为11.14%,同比下降1.81个百分点。其中,销售费用同比下降6.71%,管理费用同比下降7.84%,研发费用同比下降26.89%,财务费用-487.24万元,去年同期-1053.75万元。

资产重大变化方面,截至2024年上半年末,公司应收票据较上年末减少47.60%,占公司总资产比重下降3.97个百分点;存货较上年末增加34.15%,占公司总资产比重上升3.83个百分点;交易性金融资产较上年末增加33.74%,占公司总资产比重上升2.56个百分点;货币资金较上年末减少15.45%,占公司总资产比重下降2.50个百分点。

负债重大变化方面,截至2024年上半年末,公司应付账款较上年末增加14.99%,占公司总资产比重上升1.33个百分点;应付职工薪酬较上年末减少26.02%,占公司总资产比重下降0.85个百分点;其他流动负债较上年末增加30.05%,占公司总资产比重上升0.86个百分点;短期借款较上年末减少50.00%,占公司总资产比重下降0.55个百分点。

从存货变动来看,截至2024年上半年末,公司存货账面价值为2.61亿元,占净资产的18.51%,较上年末增加6640.73万元。其中,存货跌价准备为84.83万元,计提比例为0.32%。

在偿债能力方面,公司2024年上半年末资产负债率为20.17%,相比上年末上升0.06个百分点;有息资产负债率为0.72%,相比上年末下降0.56个百分点。

2024年上半年,公司流动比率为3.68,速动比率为2.88。

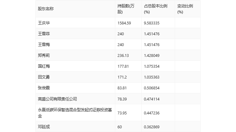
半年报显示,2024年上半年末公司十大流通股东中,新进股东为永赢低碳环保智选混合型发起式证券投资基金,取代了一季度末的山东江诣创业投资有限公司。在具体持股比例上,田文勇、高盛公司有限责任公司持股有所上升。

筹码集中度方面,截至2024年上半年末,公司股东总户数为2.88万户,较一季度末下降了2841户,降幅8.99%;户均持股市值由一季度末的11.87万元下降至10.80万元,降幅为9.01%。

指标注解:
市盈率
=总市值/净利润。当公司亏损时市盈率为负,此时用市盈率估值没有实际意义,往往用市净率或市销率做参考。
市净率
=总市值/净资产。市净率估值法多用于盈利波动较大而净资产相对稳定的公司。
市销率
=总市值/营业收入。市销率估值法通常用于亏损或微利的成长型公司。
文中市盈率和市销率采用TTM方式,即以截至最近一期财报(含预报)12个月的数据计算。市净率采用LF方式,即以最近一期财报数据计算。
市盈率为负时,不显示当期分位数,会导致折线图中断。