龙虎榜 | 蠡湖股份今日涨停,作手新一净买入1208.60万元

查股网  2024-11-15 21:02  蠡湖股份(300694)个股分析

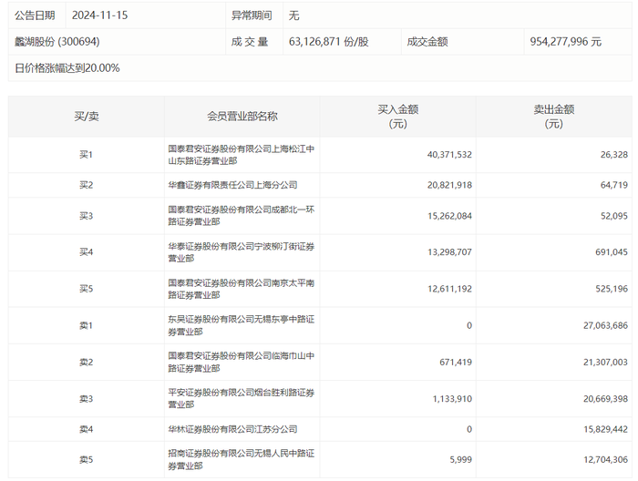
蠡湖股份今日涨停,龙虎榜数据显示,上榜营业部席位全天成交2.03亿元,占当日总成交金额比例为21.28%。其中,买入金额为1.04亿元,卖出金额为9893.32万元,合计净买入524.35万元。

具体来看,知名游资现身龙虎榜,作手新一(国泰君安证券股份有限公司南京太平南路证券营业部)净买入1208.60万元。此外,国泰君安证券上海松江中山东路证券营业部、华鑫证券上海分公司分别买入4037.15万元、2082.19万元;东吴证券无锡东亭中路证券营业部、国泰君安证券临海巾山中路证券营业部分别卖出2706.37万元、2130.70万元。