科顺股份:2024年第一季度净利润5273.22万元 同比下降9.20%

中证智能财讯 科顺股份(300737)4月30日披露2024年一季报。2024年第一季度,公司实现营业总收入14.85亿元,同比下降20.43%;归母净利润5273.22万元,同比下降9.20%;扣非净利润2345.26万元,同比下降42.64%;经营活动产生的现金流量净额为-9.77亿元,上年同期为-6.57亿元;报告期内,科顺股份基本每股收益为0.05元,加权平均净资产收益率为1.05%。


2024年第一季度,公司毛利率为23.81%,同比上升2.22个百分点;净利率为3.43%,较上年同期上升0.33个百分点。

数据显示,2024年第一季度公司加权平均净资产收益率为1.05%,较上年同期增长0.02个百分点;公司2024年第一季度投入资本回报率为0.72%,较上年同期下降0.17个百分点。

2024年第一季度,公司经营活动现金流净额为-9.77亿元,同比减少3.20亿元,主要系收到的货款减少以及支付所致;筹资活动现金流净额3.33亿元,同比增加6038.77万元;投资活动现金流净额2.78亿元,上年同期为-1.17亿元。

2024年第一季度,公司营业收入现金比为88.06%,净现比为-1853.03%。

资产重大变化方面,截至2024年一季度末,公司交易性金融资产较上年末减少28.58%,占公司总资产比重下降2.78个百分点;货币资金较上年末减少18.53%,占公司总资产比重下降2.72个百分点;应收账款较上年末增加4.64%,占公司总资产比重上升2.32个百分点;其他非流动资产较上年末增加32.66%,占公司总资产比重上升0.93个百分点。

负债重大变化方面,截至2024年一季度末,公司应付票据较上年末减少26.75%,占公司总资产比重下降2.49个百分点;长期借款较上年末增加88.46%,占公司总资产比重上升2.17个百分点;应付账款较上年末减少11.73%,占公司总资产比重下降1.18个百分点;短期借款较上年末减少7.08%,占公司总资产比重下降0.48个百分点。

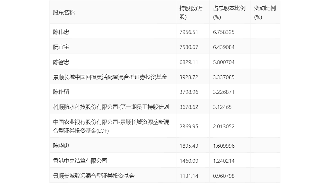
一季报显示,2024年一季度末公司十大流通股东中,新进股东为科顺防水科技股份有限公司-第一期员工持股计划、香港中央结算有限公司,取代了上年末的中国人寿资管-广发银行-国寿资产-科顺优势甄选2156保险资产管理产品、华鑫证券-上海银行-华鑫证券旭康2号集合资产管理计划。在具体持股比例上,陈伟忠、阮宜宝、陈智忠、景顺长城中国回报灵活配置混合型证券投资基金、陈作留、中国农业银行股份有限公司-景顺长城资源垄断混合型证券投资基金(LOF)、陈华忠、景顺长城致远混合型证券投资基金持股有所下降。

筹码集中度方面,截至2024年一季度末,公司股东总户数为3.44万户,较上年末下降了1700户,降幅4.71%;户均持股市值由上年末的20.01万元下降至15.59万元,降幅为22.09%。
