龙虎榜丨水羊股份今日涨停,深股通专用买入1.53亿元并卖出853.04万元

http://ddx.gubit.cn  2023-07-28 22:31  水羊股份(300740)公司分析

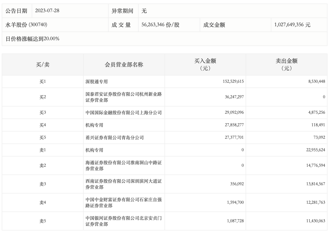
7月28日,水羊股份今日涨停,龙虎榜数据显示,上榜营业部席位全天成交3.65亿元,占当日总成交金额比例为35.52%。其中,买入金额为2.76亿元,卖出金额为8885.59万元,合计净买入1.87亿元。

具体来看,机构买入2785.83万元,卖出2307.41万元,合计净买入478.42万元。此外,深股通专用、国泰君安证券杭州新业路证券营业部分别买入1.53亿元、3624.73万元;海通证券淮南洞山中路证券营业部、西南证券深圳滨河大道证券营业部分别卖出1477.66万元、1381.46万元。