锐科激光:2024年第一季度净利润6358.15万元 同比增长44.30%

中证智能财讯 锐科激光(300747)4月26日披露2024年一季报。2024年第一季度,公司实现营业总收入8.01亿元,同比增长1.94%;归母净利润6358.15万元,同比增长44.30%;扣非净利润4079.02万元,同比增长1.37%;经营活动产生的现金流量净额为-2069.80万元,上年同期为-1.40亿元;报告期内,锐科激光基本每股收益为0.1132元,加权平均净资产收益率为1.96%。

2024年第一季度,公司毛利率为27.02%,同比上升3.25个百分点;净利率为8.05%,较上年同期上升2.24个百分点。

数据显示,2024年第一季度公司加权平均净资产收益率为1.96%,较上年同期增长0.53个百分点;公司2024年第一季度投入资本回报率为1.69%,较上年同期增长0.40个百分点。

2024年第一季度,公司经营活动现金流净额为-2069.80万元,同比增加1.20亿元;筹资活动现金流净额-1.04亿元,同比减少9441.85万元;投资活动现金流净额-5572.81万元,上年同期为-1.41亿元。

2024年第一季度,公司营业收入现金比为96.47%,净现比为-32.55%。

资产重大变化方面,截至2024年一季度末,公司应收账款较上年末增加43.09%,占公司总资产比重上升5.74个百分点;应收款项融资较上年末减少71.57%,占公司总资产比重下降4.30个百分点;货币资金较上年末减少23.54%,占公司总资产比重下降3.77个百分点;存货较上年末增加13.88%,占公司总资产比重上升2.43个百分点。

负债重大变化方面,截至2024年一季度末,公司短期借款较上年末减少20.06%,占公司总资产比重下降1.72个百分点;应付职工薪酬较上年末减少53.94%,占公司总资产比重下降1.34个百分点;应付票据较上年末增加8.69%,占公司总资产比重上升1.00个百分点;应付账款较上年末增加6.60%,占公司总资产比重上升0.82个百分点。

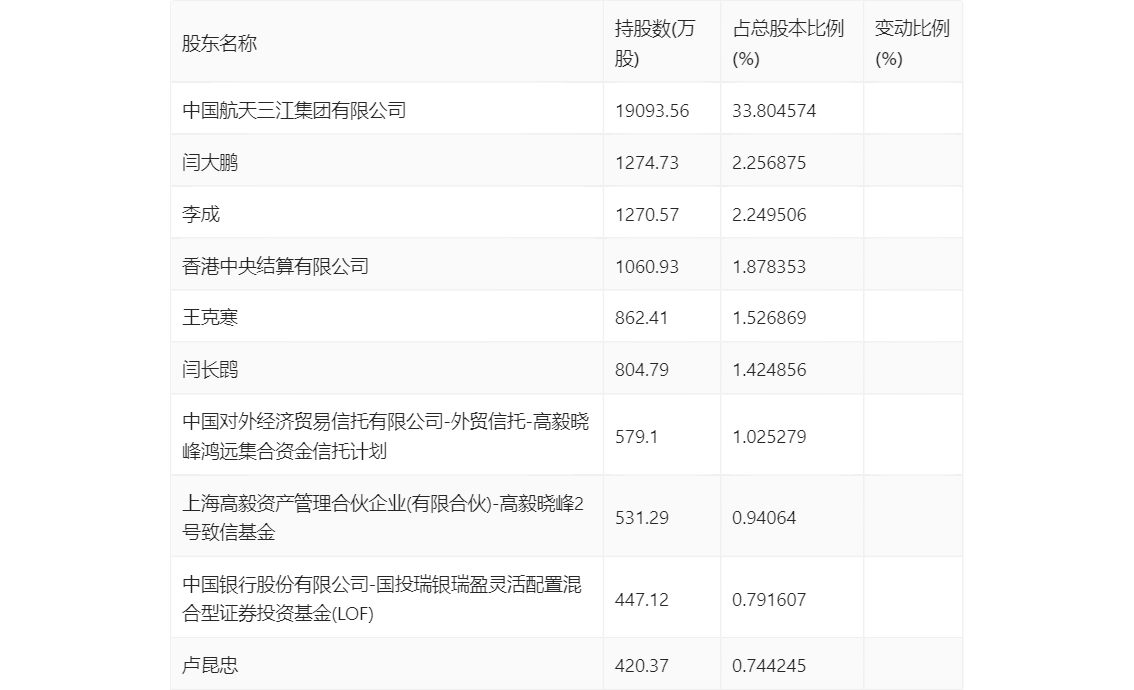
一季报显示,2024年一季度末的公司十大流通股东中,新进股东为卢昆忠,取代了上年末的国投瑞银境煊灵活配置混合型证券投资基金。在具体持股比例上,闫长鹍持股有所上升,李成、香港中央结算有限公司、王克寒、高毅晓峰鸿远集合资金信托计划、上海高毅资产管理合伙企业(有限合伙)-高毅晓峰2号致信基金、国投瑞银瑞盈灵活配置混合型证券投资基金(LOF)持股有所下降。

筹码集中度方面,截至2024年一季度末,公司股东总户数为4.01万户,较上年末增长了3278户,增幅8.91%;户均持股市值由上年末的36.25万元下降至28.01万元,降幅为22.75%。
