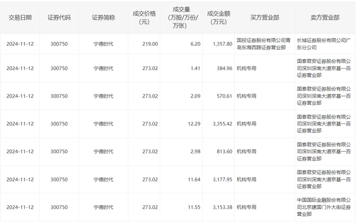
宁德时代今日大宗交易成交48.16万股,成交额1.28亿元

查股网  2024-11-12 20:41  宁德时代(300750)个股分析

宁德时代11月12日大宗交易成交48.16万股,成交额1.28亿元,占当日总成交额的0.61%,成交均价266.07元,较市场收盘价273.02元折价2.55%,其中最高成交价273.02元,最低成交价219元。