龙虎榜 | 爱朋医疗今日涨11.62%,机构合计净买入4063.89万元

http://ddx.gubit.cn  2023-05-31 16:44  爱朋医疗(300753)公司分析

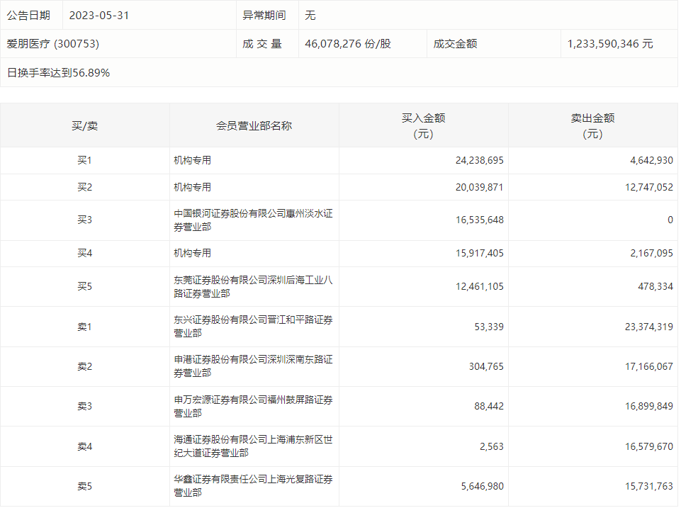
5月31日,爱朋医疗今日涨11.62%,龙虎榜数据显示,上榜营业部席位全天成交2.05亿元,占当日总成交金额比例为16.62%。其中,买入金额为9528.88万元,卖出金额为1.1亿元,合计净卖出1449.83万元。

具体来看,机构买入6019.6万元,卖出1955.71万元,合计净买入4063.89万元。此外,中国银河证券惠州淡水证券营业部、东莞证券深圳后海工业八路证券营业部分别买入1653.56万元、1246.11万元;东兴证券晋江和平路证券营业部、申港证券深圳深南东路证券营业部分别卖出2337.43万元、1716.61万元。