上海瀚讯:2024年上半年亏损5204.70万元

中证智能财讯 上海瀚讯(300762)8月30日披露2024年半年报。2024年上半年,公司实现营业总收入1.06亿元,同比下降27.56%;归母净利润亏损5204.70万元,上年同期亏损1475.21万元;扣非净利润亏损5881.71万元,上年同期亏损3513.23万元;经营活动产生的现金流量净额为-1.31亿元,上年同期为-1.18亿元;报告期内,上海瀚讯基本每股收益为-0.0829元,加权平均净资产收益率为-2.11%。
公告称,公司营业收入变化主要由于受到行业波动影响,报告期内宽带移动通信设备的销售收入下降。

以8月29日收盘价计算,上海瀚讯目前市盈率(TTM)约为-37.61倍,市净率(LF)约为3.49倍,市销率(TTM)约为31.36倍。

公司近年市盈率(TTM)、市净率(LF)、市销率(TTM)历史分位图如下所示:



根据半年报,公司第二季度实现营业总收入3814.72万元,同比下降45.08%,环比下降43.96%;归母净利润-4201.05万元,同比下降549.01%,环比下降318.58%;扣非净利润-4552.22万元,同比下降145.75%,环比下降242.40%。

半年报显示,公司主要从事行业宽带移动通信设备的研发、制造、销售及工程实施,结合业务应用软件、指挥调度软件等配套产品,向客户提供行业宽带移动通信系统的整体解决方案。
分产品来看,2024年上半年公司主营业务中,宽带移动通信设备收入1.04亿元,同比下降23.33%,占营业收入的97.74%。

2024年上半年,公司毛利率为68.33%,同比上升18.77个百分点;净利率为-49.00%,较上年同期下降38.94个百分点。从单季度指标来看,2024年第二季度公司毛利率为74.09%,同比上升38.33个百分点,环比上升8.98个百分点;净利率为-110.13%,较上年同期下降100.81个百分点,较上一季度下降95.39个百分点。

数据显示,2024年上半年公司加权平均净资产收益率为-2.11%,较上年同期下降1.56个百分点;公司2024年上半年投入资本回报率为-3.27%,较上年同期下降1.52个百分点。

2024年上半年,公司经营活动现金流净额为-1.31亿元,同比减少1317.56万元;筹资活动现金流净额1.40亿元,同比减少789.99万元;投资活动现金流净额-1.10亿元,上年同期为-7660.86万元。
进一步统计发现,2024年上半年公司自由现金流为-2.09亿元,上年同期为-1.91亿元。

2024年上半年,公司营业收入现金比为110.85%。

营运能力方面,2024年上半年,公司总资产周转率为0.03次,上年同期为0.04次(2023年上半年行业平均值为0.13次,公司位居同行业59/63);固定资产周转率为0.29次,上年同期为1.64次(2023年上半年行业平均值为1.69次,公司位居同行业33/63);公司应收账款周转率、存货周转率分别为0.11次、0.10次。

2024年上半年,公司期间费用为1.24亿元,较上年同期增加1333.33万元;期间费用率为117.13%,较上年同期上升41.38个百分点。其中,销售费用同比下降16.05%,管理费用同比增长23.52%,研发费用同比增长18.68%,财务费用由去年同期的-2333.78万元变为-2999.29万元。
资料显示,销售费用的变动主要因为报告期内工资薪金减少;管理费用的变动主要因为报告期内房屋折旧费增加;财务费用的变动主要因为报告期内存款利息收入增加。

资产重大变化方面,截至2024年上半年末,公司货币资金较上年末减少4.21%,占公司总资产比重下降2.96个百分点;存货较上年末增加28.91%,占公司总资产比重上升2.03个百分点;长期股权投资较上年末增加148.80%,占公司总资产比重上升0.74个百分点;递延所得税资产较上年末增加28.32%,占公司总资产比重上升0.72个百分点。

负债重大变化方面,截至2024年上半年末,公司短期借款较上年末增加21.52%,占公司总资产比重上升2.98个百分点;应付票据较上年末增加325.62%,占公司总资产比重上升0.41个百分点;应付账款较上年末增加3.79%,占公司总资产比重上升0.03个百分点;合同负债较上年末减少55.35%,占公司总资产比重下降0.25个百分点。

从存货变动来看,截至2024年上半年末,公司存货账面价值为3.68亿元,占净资产的15.04%,较上年末增加8241.47万元。其中,存货跌价准备为4835.98万元,计提比例为11.63%。

在偿债能力方面,公司2024年上半年末资产负债率为31.29%,相比上年末上升3.01个百分点;有息资产负债率为20.07%,相比上年末上升2.97个百分点。

2024年上半年,公司流动比率为2.60,速动比率为2.26。

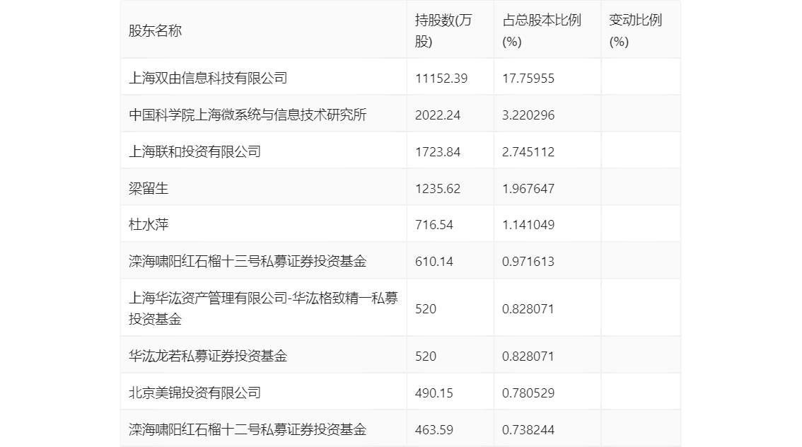
半年报显示,2024年上半年末公司十大流通股东中,新进股东为华汯龙若私募证券投资基金、滦海啸阳红石榴十二号私募证券投资基金,取代了一季度末的曾少章、蒋忠平。在具体持股比例上,杜水萍、北京美锦投资有限公司持股有所上升,中国科学院上海微系统与信息技术研究所、上海联和投资有限公司、梁留生、滦海啸阳红石榴十三号私募证券投资基金、上海华汯资产管理有限公司-华汯格致精一私募投资基金持股有所下降。

筹码集中度方面,截至2024年上半年末,公司股东总户数为3.56万户,较一季度末增长了3351户,增幅10.39%;户均持股市值由一季度末的27.21万元上升至31.58万元,增幅为16.06%。

指标注解:
市盈率
=总市值/净利润。当公司亏损时市盈率为负,此时用市盈率估值没有实际意义,往往用市净率或市销率做参考。
市净率
=总市值/净资产。市净率估值法多用于盈利波动较大而净资产相对稳定的公司。
市销率
=总市值/营业收入。市销率估值法通常用于亏损或微利的成长型公司。
文中市盈率和市销率采用TTM方式,即以截至最近一期财报(含预报)12个月的数据计算。市净率采用LF方式,即以最近一期财报数据计算。
市盈率为负时,不显示当期分位数,会导致折线图中断。