龙虎榜丨每日互动今日涨停,上榜营业部合计净买入1.46亿元

查股网  2025-02-06 17:45  每日互动(300766)个股分析

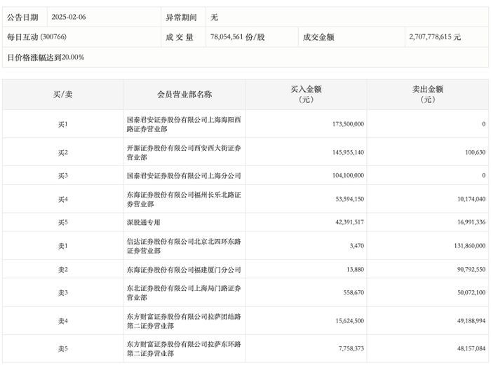
2月6日,每日互动今日涨停,龙虎榜数据显示,上榜营业部席位全天成交9.41亿元,占当日总成交金额比例为34.75%。其中,买入金额为5.43亿元,卖出金额为3.97亿元,合计净买入1.46亿元。

具体来看,国泰君安证券上海海阳西路证券营业部、开源证券西安西大街证券营业部分别买入1.74亿元、1.46亿元;信达证券北京北四环东路证券营业部、东海证券福建厦门分公司分别卖出1.32亿元、9079.26万元。