震安科技:2024年第一季度亏损745.53万元

中证智能财讯 震安科技(300767)4月23日披露2024年一季报。2024年第一季度,公司实现营业总收入1.10亿元,同比下降13.75%;归母净利润亏损745.53万元,上年同期盈利406.78万元;扣非净利润亏损1183.84万元,上年同期盈利337.95万元;经营活动产生的现金流量净额为6677.22万元,上年同期为-3654.07万元;报告期内,震安科技基本每股收益为-0.0302元,加权平均净资产收益率为-0.48%。


2024年第一季度,公司毛利率为28.21%,同比下降9.16个百分点;净利率为-6.85%,较上年同期下降10.16个百分点。

数据显示,2024年第一季度公司加权平均净资产收益率为-0.48%,较上年同期下降0.73个百分点;公司2024年第一季度投入资本回报率为-0.04%,较上年同期下降0.50个百分点。

2024年第一季度,公司经营活动现金流净额为6677.22万元,同比增加1.03亿元;筹资活动现金流净额2566.08万元,同比增加2788.96万元;投资活动现金流净额-797.39万元,上年同期为-2067.97万元。

2024年第一季度,公司营业收入现金比为181.87%,净现比为-895.64%。

资产重大变化方面,截至2024年一季度末,公司应收账款较上年末减少10.83%,占公司总资产比重下降3.73个百分点;货币资金较上年末增加13.33%,占公司总资产比重上升2.91个百分点;应收款项融资较上年末增加7806.69%,占公司总资产比重上升0.86个百分点;存货较上年末减少5.89%,占公司总资产比重下降0.72个百分点。

负债重大变化方面,截至2024年一季度末,公司一年内到期的非流动负债较上年末增加288.86%,占公司总资产比重上升1.53个百分点;短期借款较上年末减少13.91%,占公司总资产比重下降1.44个百分点;长期借款较上年末增加28.07%,占公司总资产比重上升1.13个百分点;合同负债较上年末增加36.72%,占公司总资产比重上升0.74个百分点。

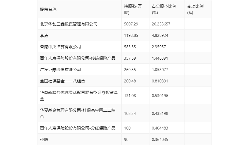
一季报显示,2024年一季度末公司十大流通股东中,新进股东为百年人寿保险股份有限公司-分红保险产品、孙嵘,取代了上年末的施亦珺、谭静。在具体持股比例上,香港中央结算有限公司、百年人寿保险股份有限公司-传统保险产品持股有所上升,北京华创三鑫投资管理有限公司、李涛、广发证券股份有限公司、华夏基金管理有限公司-社保基金四二二组合持股有所下降。

筹码集中度方面,截至2024年一季度末,公司股东总户数为2.02万户,较上年末下降了597户,降幅2.87%;户均持股市值由上年末的20.65万元下降至14.24万元,降幅为31.04%。
