迪普科技:2024年上半年净利润5205.83万元 同比增长32.09%

中证智能财讯 迪普科技(300768)8月6日披露2024年半年报。2024年上半年,公司实现营业总收入5.02亿元,同比增长13.63%;归母净利润5205.83万元,同比增长32.09%;扣非净利润4625.99万元,同比增长32.34%;经营活动产生的现金流量净额为5782.19万元,上年同期为-6358.83万元;报告期内,迪普科技基本每股收益为0.08元,加权平均净资产收益率为1.61%。
公告称,公司营业收入变化主要由于本期网络安全产品收入增加。

以8月5日收盘价计算,迪普科技目前市盈率(TTM)约为53.94倍,市净率(LF)约为2.35倍,市销率(TTM)约为6.87倍。

公司近年市盈率(TTM)、市净率(LF)、市销率(TTM)历史分位图如下所示:



根据半年报,公司第二季度实现营业总收入2.48亿元,同比增长17.42%,环比下降2.69%;归母净利润1537.22万元,同比增长127.23%,环比下降58.10%;扣非净利润1336.52万元,同比增长266.38%,环比下降59.37%。

资料显示,公司聚焦于网络安全、工控安全、数据安全及应用交付等领域,为各行业用户提供全场景的安全产品和解决方案。
分产品来看,2024年上半年公司主营业务中,网络安全产品收入3.66亿元,同比增长12.55%,占营业收入的72.86%;应用交付及网络产品收入0.93亿元,同比增长6.84%,占营业收入的18.48%。

2024年上半年,公司毛利率为68.54%,同比上升1.06个百分点;净利率为10.36%,较上年同期上升1.45个百分点。从单季度指标来看,2024年第二季度公司毛利率为67.66%,同比上升2.62个百分点,环比下降1.75个百分点;净利率为6.20%,较上年同期上升2.99个百分点,较上一季度下降8.21个百分点。

分产品看,网络安全产品、应用交付及网络产品2024年上半年毛利率分别为71.04%、60.66%。
数据显示,2024年上半年公司加权平均净资产收益率为1.61%,较上年同期增长0.38个百分点;公司2024年上半年投入资本回报率为0.99%,较上年同期增长0.77个百分点。

2024年上半年,公司经营活动现金流净额为5782.19万元,同比增加1.21亿元,主要系本期销售商品、提供劳务收到的现金增加所致;筹资活动现金流净额-1.22亿元,同比减少6243.04万元,主要系本期回购股票较上期增加所致;投资活动现金流净额-4227.47万元,上年同期为-1888.44万元,主要系本期购买土地使用权、支付网络安全产品及相关软件开发基地项目工程款所致。
进一步统计发现,2024年上半年公司自由现金流为-2605.18万元,上年同期为-12466.17万元。

2024年上半年,公司营业收入现金比为144.24%,净现比为111.07%。

营运能力方面,2024年上半年,公司公司总资产周转率为0.13次,上年同期为0.12次(2023年上半年行业平均值为0.15次,公司位居同行业22/36);固定资产周转率为1.55次,上年同期为1.90次(2023年上半年行业平均值为3.48次,公司位居同行业25/36);公司应收账款周转率、存货周转率分别为3.87次、0.45次。

2024年上半年,公司期间费用为3.24亿元,较上年同期增加3224.69万元;但期间费用率为64.53%,较上年同期下降1.49个百分点。其中,销售费用同比增长3.71%,管理费用同比增长18.95%,研发费用同比增长5.33%,财务费用由去年同期的-3337.86万元变为-1792.39万元。
资料显示,销售费用的变动主要因为本期员工费用增加、业务招待费增加;管理费用的变动主要因为本期员工费用增加、折旧及摊销增加;财务费用的变动主要因为本期利息收入减少。

资产重大变化方面,截至2024年上半年末,公司应收款项融资较上年末减少99.79%,占公司总资产比重下降1.09个百分点;存货较上年末增加3.87%,占公司总资产比重上升0.76个百分点;应收账款较上年末减少18.35%,占公司总资产比重下降0.54个百分点;无形资产较上年末增加104.82%,占公司总资产比重上升0.45个百分点。

负债重大变化方面,截至2024年上半年末,公司应付职工薪酬较上年末减少41.91%,占公司总资产比重下降1.06个百分点;应付账款较上年末减少16.49%,占公司总资产比重下降0.65个百分点,主要系本期应付供应商款项减少;其他应付款(含利息和股利)较上年末减少34.60%,占公司总资产比重下降0.63个百分点;应交税费较上年末减少77.94%,占公司总资产比重下降0.22个百分点。

从应收账款账龄结构来看,截至2024年上半年末,公司账龄在1年以内的应收账款余额为1.08亿元,较上年末下降2246.37万元,占应收账款总额比例为89.13%,较上年末上升0.61个百分点。

从存货变动来看,截至2024年上半年末,公司存货账面价值为3.58亿元,占净资产的11.22%,较上年末增加1336.39万元。其中,存货跌价准备为2076.95万元,计提比例为5.48%。

在偿债能力方面,公司2024年上半年末资产负债率为13.50%,相比上年末下降2.24个百分点;有息资产负债率为0.36%,相比上年末下降0.02个百分点。

2024年上半年,公司流动比率为7.13,速动比率为6.35。

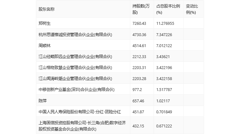
半年报显示,2024年上半年末公司十大流通股东中,新进股东为中国人民人寿保险股份有限公司-分红-团险分红,取代了一季度末的香港中央结算有限公司。

筹码集中度方面,截至2024年上半年末,公司股东总户数为1.69万户,较一季度末增长了969户,增幅6.08%;户均持股市值由一季度末的48.13万元下降至45.11万元,降幅为6.27%。

指标注解:
市盈率
=总市值/净利润。当公司亏损时市盈率为负,此时用市盈率估值没有实际意义,往往用市净率或市销率做参考。
市净率
=总市值/净资产。市净率估值法多用于盈利波动较大而净资产相对稳定的公司。
市销率
=总市值/营业收入。市销率估值法通常用于亏损或微利的成长型公司。
文中市盈率和市销率采用TTM方式,即以截至最近一期财报(含预报)12个月的数据计算。市净率采用LF方式,即以最近一期财报数据计算。
市盈率为负时,不显示当期分位数,会导致折线图中断。