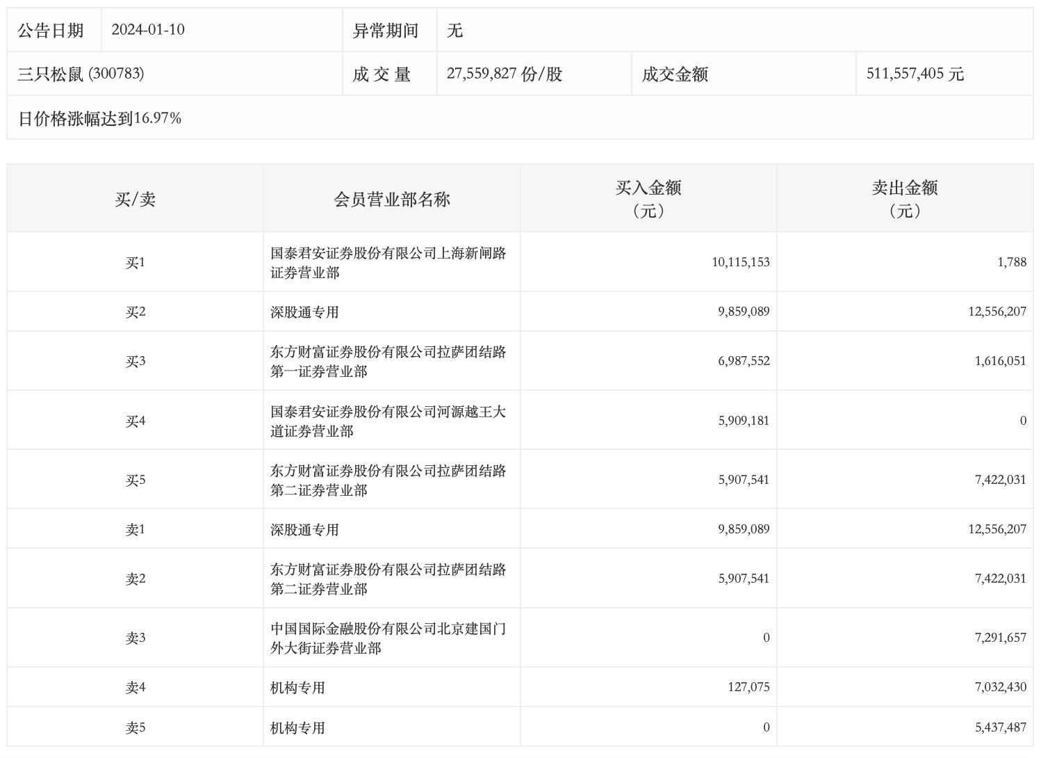
龙虎榜丨三只松鼠今日涨16.97%,机构合计净卖出1234.28万元

查股网  2024-01-10 16:36  三只松鼠(300783)个股分析

1月10日,三只松鼠今日涨16.97%,全天换手率达9.83%,振幅达21.98%。龙虎榜数据显示,营业部席位合计净卖出245.21万元。其中,机构买入12.71万元,卖出1246.99万元,合计净卖出1234.28万元。此外,国泰君安证券上海新闸路证券营业部、深股通专用分别买入1011.52万元、985.91万元;深股通专用、东方财富证券拉萨团结路第二证券营业部分别卖出1255.62万元、742.20万元。