海能实业:2024年第一季度净利润819.79万元 同比增长25.14%

中证智能财讯 海能实业(300787)4月26日披露2024年一季报。2024年第一季度,公司实现营业总收入4.08亿元,同比增长7.58%;归母净利润819.79万元,同比增长25.14%;扣非净利润666.54万元,同比增长114.21%;经营活动产生的现金流量净额为-8336.77万元,上年同期为6069.96万元;报告期内,海能实业基本每股收益为0.0357元,加权平均净资产收益率为0.49%。

2024年第一季度,公司毛利率为30.17%,同比上升5.28个百分点;净利率为1.87%,较上年同期上升0.14个百分点。

数据显示,2024年第一季度公司加权平均净资产收益率为0.49%,较上年同期增长0.07个百分点;公司2024年第一季度投入资本回报率为0.48%,较上年同期增长0.28个百分点。

2024年第一季度,公司经营活动现金流净额为-8336.77万元,同比减少1.44亿元;筹资活动现金流净额-14.44万元,同比减少1.46亿元;投资活动现金流净额-3800.80万元,上年同期为-7784.48万元。

2024年第一季度,公司营业收入现金比为118.03%,净现比为-1016.94%。

资产重大变化方面,截至2024年一季度末,公司货币资金较上年末减少5.17%,占公司总资产比重下降2.46个百分点;其他非流动资产较上年末增加99.04%,占公司总资产比重上升2.08个百分点;存货较上年末增加32.26%,占公司总资产比重上升1.99个百分点;应收账款较上年末减少9.54%,占公司总资产比重下降1.73个百分点。

负债重大变化方面,截至2024年一季度末,公司应付票据较上年末增加61.00%,占公司总资产比重上升3.96个百分点;短期借款较上年末增加31.07%,占公司总资产比重上升2.51个百分点;应付账款较上年末减少22.13%,占公司总资产比重下降2.13个百分点;应付职工薪酬较上年末减少11.28%,占公司总资产比重下降0.36个百分点。

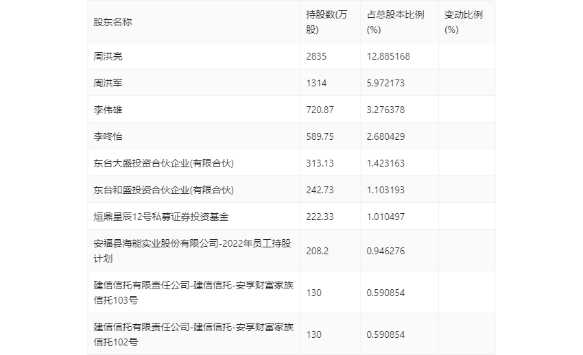
一季报显示,2024年一季度末公司十大流通股东中,持股最多的为周洪亮,占比12.89%。十大流通股东名单相比2023年年报维持不变。在具体持股比例上,周洪亮、周洪军、李咚怡、安福县海能实业股份有限公司-2022年员工持股计划、建信信托有限责任公司-建信信托-安享财富家族信托103号、建信信托有限责任公司-建信信托-安享财富家族信托102号持股有所上升,李伟雄、东台大盛投资合伙企业(有限合伙)、东台和盛投资合伙企业(有限合伙)、烜鼎星辰12号私募证券投资基金持股有所下降。

筹码集中度方面,截至2024年一季度末,公司股东总户数为1.26万户,较上年末下降了425户,降幅3.27%;户均持股市值由上年末的29.66万元下降至23.42万元,降幅为21.04%。
