海能实业:2023年净利润同比下降60.50% 拟10转2股派2.8元

中证智能财讯 海能实业(300787)4月26日披露2023年年报。2023年,公司实现营业总收入19.03亿元,同比下降20.24%;归母净利润1.29亿元,同比下降60.50%;扣非净利润1.10亿元,同比下降63.92%;经营活动产生的现金流量净额为3.02亿元,同比下降65.92%;报告期内,海能实业基本每股收益为0.5702元,加权平均净资产收益率为7.88%。公司2023年年度利润分配预案为:拟向全体股东每10股转2股派2.8元(含税)。
以4月25日收盘价计算,海能实业目前市盈率(TTM)约为22.16倍,市净率(LF)约为1.66倍,市销率(TTM)约为1.5倍。

公司近年市盈率(TTM)、市净率(LF)、市销率(TTM)历史分位图如下所示:



数据统计显示,海能实业近三年营业总收入复合增长率为6.72%,在消费电子零部件及组装行业已披露2023年数据的72家公司中排名第32。近三年净利润复合年增长率为4.30%,排名26/72。

分产品来看,2023年公司主营业务中,电源适配器收入7.25亿元,同比增长23.13%,占营业收入的38.10%;信号适配器收入6.06亿元,同比下降44.81%,占营业收入的31.84%;信号线束收入5.45亿元,同比下降17.10%,占营业收入的28.62%。

截至2023年末,公司员工总数为6485人,人均创收29.35万元,人均创利1.99万元,人均薪酬7.63万元,较上年同期分别下降23.99%、62.35%、9.12%。

2023年,公司毛利率为28.06%,同比下降1.52个百分点;净利率为6.77%,较上年同期下降6.89个百分点。从单季度指标来看,2023年第四季度公司毛利率为26.09%,同比下降6.27个百分点,环比下降4.58个百分点;净利率为4.23%,较上年同期下降0.37个百分点,较上一季度下降3.20个百分点。

分产品看,电源适配器、信号适配器、信号线束2023年毛利率分别为21.48%、34.82%、27.23%。

报告期内,公司前五大客户合计销售金额10.13亿元,占总销售金额比例为53.22%,公司前五名供应商合计采购金额1.57亿元,占年度采购总额比例为16.27%。


数据显示,2023年公司加权平均净资产收益率为7.88%,较上年同期下降14.77个百分点;公司2023年投入资本回报率为6.15%,较上年同期下降10.55个百分点。

2023年,公司经营活动现金流净额为3.02亿元,同比下降65.92%;筹资活动现金流净额3.08亿元,同比增加6.74亿元;投资活动现金流净额-4.21亿元,上年同期为-1.21亿元。
进一步统计发现,2023年公司自由现金流为-5782.66万元,上年同期为73863.04万元。

2023年,公司营业收入现金比为106.61%,净现比为234.69%。

营运能力方面,2023年,公司公司总资产周转率为0.64次,上年同期为0.92次(2022年行业平均值为0.67次,公司位居同行业24/94);固定资产周转率为1.99次,上年同期为2.62次(2022年行业平均值为4.24次,公司位居同行业68/94);公司应收账款周转率、存货周转率分别为4.38次、5.14次。

2023年,公司期间费用为3.91亿元,较上年同期增加7301.65万元;期间费用率为20.53%,较上年同期上升7.22个百分点。其中,销售费用同比增长10.37%,管理费用同比增长10.24%,研发费用同比增长23.62%,财务费用由去年同期的-1792.65万元变为157.74万元。

资产重大变化方面,截至2023年年末,公司固定资产较上年末增加2.02%,占公司总资产比重下降5.36个百分点;存货较上年末减少23.22%,占公司总资产比重下降4.04个百分点;在建工程较上年末增加2903.96%,占公司总资产比重上升3.98个百分点;无形资产较上年末增加88.21%,占公司总资产比重上升3.03个百分点。

负债重大变化方面,截至2023年年末,公司短期借款较上年末减少41.65%,占公司总资产比重下降9.96个百分点;应付票据较上年末增加42.28%,占公司总资产比重上升1.09个百分点;应付账款较上年末增加19.28%,占公司总资产比重下降0.09个百分点;应交税费较上年末增加61.22%,占公司总资产比重上升0.59个百分点。

从存货变动来看,截至2023年年末,公司存货账面价值为2.31亿元,占净资产的13.45%,较上年末减少6995.49万元。其中,存货跌价准备为3564.73万元,计提比例为13.35%。

2023年全年,公司研发投入金额为1.76亿元,同比增长23.62%;研发投入占营业收入比例为9.25%,相比上年同期上升3.28个百分点。此外,公司全年研发投入资本化率为0。

在偿债能力方面,公司2023年年末资产负债率为47.31%,相比上年末上升4.95个百分点;有息资产负债率为23.15%,相比上年末上升3.79个百分点。

2023年,公司流动比率为1.72,速动比率为1.50。

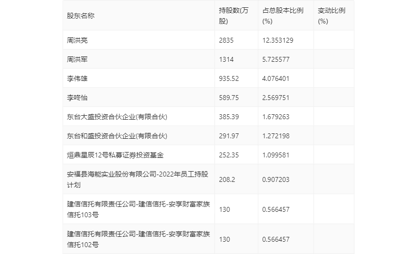
年报显示,2023年年末公司十大流通股东中,持股最多的为周洪亮,占比12.35%。十大流通股东名单相比2023年三季报维持不变。在具体持股比例上,周洪亮、周洪军、李伟雄、李咚怡、东台大盛投资合伙企业(有限合伙)、东台和盛投资合伙企业(有限合伙)、烜鼎星辰12号私募证券投资基金、安福县海能实业股份有限公司-2022年员工持股计划、建信信托有限责任公司-建信信托-安享财富家族信托103号、建信信托有限责任公司-建信信托-安享财富家族信托102号持股有所下降。

值得注意的是,根据年报数据,海能实业28.67%股份处于质押状态。其中,第一大股东周洪亮质押5520.00万股公司股份,占其全部持股的48.68%。
筹码集中度方面,截至2023年年末,公司股东总户数为1.3万户,较三季度末下降了118户,降幅0.90%;户均持股市值由三季度末的31.44万元下降至29.66万元,降幅为5.66%。

指标注解:
市盈率
=总市值/净利润。当公司亏损时市盈率为负,此时用市盈率估值没有实际意义,往往用市净率或市销率做参考。
市净率
=总市值/净资产。市净率估值法多用于盈利波动较大而净资产相对稳定的公司。
市销率
=总市值/营业收入。市销率估值法通常用于亏损或微利的成长型公司。
文中市盈率和市销率采用TTM方式,即以截至最近一期财报(含预报)12个月的数据计算。市净率采用LF方式,即以最近一期财报数据计算。
市盈率为负时,不显示当期分位数,会导致折线图中断。