斯迪克:9月24日高管金闯减持股份合计60.11万股
证券之星消息,根据9月25日市场公开信息、上市公司公告及交易所披露数据整理,斯迪克(300806)最新董监高及相关人员股份变动情况:2025年9月24日公司董事,高管金闯共减持公司股份60.11万股,占公司总股本为0.1326%。变动期间公司股价上涨1.19%,9月24日当日收盘报27.17元。
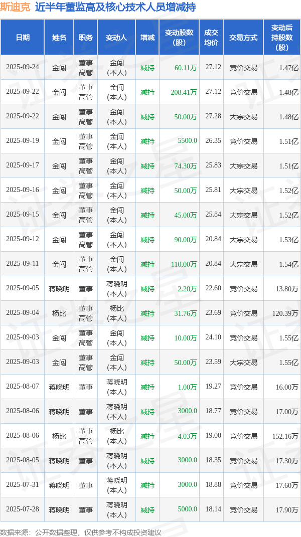
斯迪克近半年内的董监高及核心技术人员增减持详情如下:

斯迪克的高管列表及最新持股情况如下:

该股最近90天内共有4家机构给出评级,买入评级3家,增持评级1家;过去90天内机构目标均价为19.52。
以上内容为证券之星据公开信息整理,由AI算法生成(网信算备310104345710301240019号),不构成投资建议。