龙虎榜丨华辰装备今日涨10.47%,深股通专用净买入1766.62万元

http://ddx.gubit.cn  2023-09-27 20:38  华辰装备(300809)公司分析

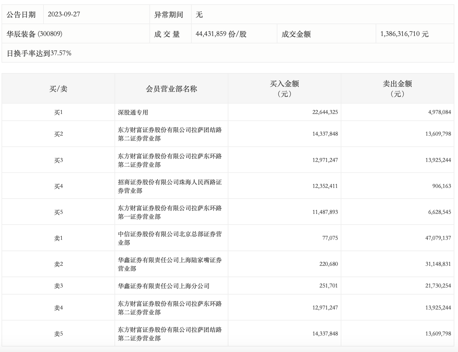
9月27日,华辰装备今日涨10.47%,全天换手率达37.57%,振幅达15.05%。龙虎榜数据显示,营业部席位合计净卖出6566.29万元。其中,深股通专用、东方财富证券拉萨团结路第二证券营业部分别买入2264.43万元、1433.78万元;中信证券北京总部证券营业部、华鑫证券上海陆家嘴证券营业部分别卖出4707.91万元、3114.88万元。