玉禾田:2024年上半年净利润3.27亿元 同比增长2.88%

中证智能财讯 玉禾田(300815)8月23日披露2024年半年报。2024年上半年,公司实现营业总收入34.05亿元,同比增长16.29%;归母净利润3.27亿元,同比增长2.88%;扣非净利润3.24亿元,同比增长7.97%;经营活动产生的现金流量净额为9278.12万元,同比下降30.43%;报告期内,玉禾田基本每股收益为0.8198元,加权平均净资产收益率为8.63%。

以8月22日收盘价计算,玉禾田目前市盈率(TTM)约为8.61倍,市净率(LF)约为1.18倍,市销率(TTM)约为0.69倍。

公司近年市盈率(TTM)、市净率(LF)、市销率(TTM)历史分位图如下所示:



根据半年报,公司第二季度实现营业总收入17.03亿元,同比增长12.75%,环比增长0.06%;归母净利润1.79亿元,同比增长0.75%,环比增长21.26%;扣非净利润1.76亿元,同比增长5.70%,环比增长19.23%。

半年报显示,公司主营业务涵盖城市运营和物业管理两大板块,为政府单位和企业客户提供“全场景”的城市运营服务与物业管理服务,包括但不限于城市环境管家、城市空间管家、城市焕新管家、城市智慧管家及物业管理等服务系列。
分产品来看,2024年上半年公司主营业务中,城市运营收入28.66亿元,同比增长20.58%,占营业收入的84.19%;物业管理收入5.36亿元,同比增长0.27%,占营业收入的15.75%。

2024年上半年,公司毛利率为24.93%,同比上升1.12个百分点;净利率为11.18%,较上年同期下降0.96个百分点。从单季度指标来看,2024年第二季度公司毛利率为26.55%,同比上升2.25个百分点,环比上升3.24个百分点;净利率为12.37%,较上年同期下降0.73个百分点,较上一季度上升2.38个百分点。

分产品看,城市运营、物业管理2024年上半年毛利率分别为27.72%、9.84%。
数据显示,2024年上半年公司加权平均净资产收益率为8.63%,较上年同期下降0.53个百分点;公司2024年上半年投入资本回报率为6.87%,较上年同期下降0.71个百分点。

2024年上半年,公司经营活动现金流净额为9278.12万元,同比下降30.43%,主要系报告期购买商品、接受劳务支付的现金增加所致;筹资活动现金流净额8635.95万元,同比增加2.82亿元,主要系报告期借款增加所致;投资活动现金流净额-6.24亿元,上年同期为-2.1亿元,主要系报告期购建固定资产、无形资产和其他长期资产支付的现金增加所致。
进一步统计发现,2024年上半年公司自由现金流为-6.04亿元,上年同期为-2.10亿元。

2024年上半年,公司营业收入现金比为94.20%,净现比为28.39%。

营运能力方面,2024年上半年,公司公司总资产周转率为0.45次,上年同期为0.47次(2023年上半年行业平均值为0.16次,公司位居同行业1/34);固定资产周转率为3.28次,上年同期为3.36次(2023年上半年行业平均值为1.43次,公司位居同行业6/34);公司应收账款周转率、存货周转率分别为0.96次、58.28次。

2024年上半年,公司期间费用为3.18亿元,较上年同期增加6763.65万元;期间费用率为9.33%,较上年同期上升0.79个百分点。其中,销售费用同比增长10.19%,管理费用同比增长22.09%,研发费用同比增长137.25%,财务费用同比增长49.7%。
资料显示,财务费用的变动主要因为报告期借款增加。

资产重大变化方面,截至2024年上半年末,公司货币资金较上年末减少39.83%,占公司总资产比重下降6.60个百分点;其他非流动资产较上年末增加197.25%,占公司总资产比重上升5.17个百分点;应收账款较上年末增加16.79%,占公司总资产比重上升4.55个百分点;固定资产较上年末减少5.50%,占公司总资产比重下降1.57个百分点。

负债重大变化方面,截至2024年上半年末,公司短期借款较上年末增加38.72%,占公司总资产比重上升3.83个百分点;一年内到期的非流动负债较上年末减少32.84%,占公司总资产比重下降1.28个百分点;应付账款较上年末减少6.14%,占公司总资产比重下降1.26个百分点;长期借款较上年末减少10.32%,占公司总资产比重下降0.55个百分点。

从存货变动来看,截至2024年上半年末,公司存货账面价值为4767.86万元,占净资产的1.23%。根据财报,公司本期没有计提存货跌价准备。

在偿债能力方面,公司2024年上半年末资产负债率为44.25%,相比上年末下降0.48个百分点;有息资产负债率为21.47%,相比上年末上升2.00个百分点。

2024年上半年,公司流动比率为1.77,速动比率为1.76。

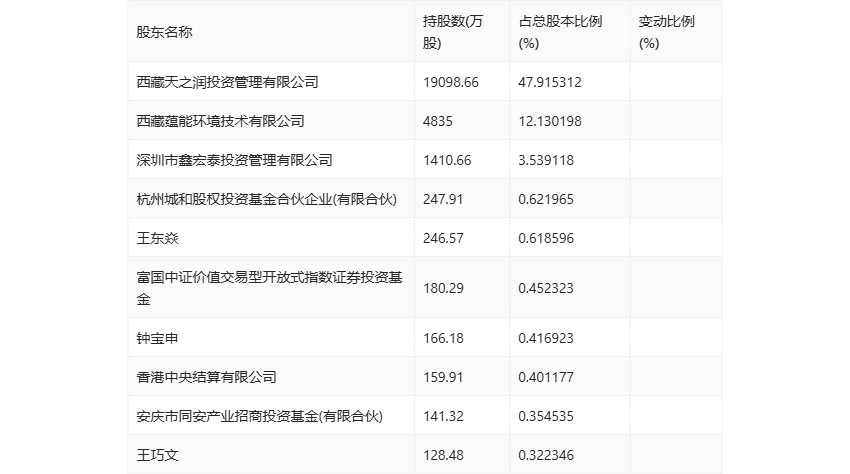
半年报显示,2024年上半年末公司十大流通股东中,新进股东为富国中证价值交易型开放式指数证券投资基金,取代了一季度末的黄国成。在具体持股比例上,香港中央结算有限公司、王巧文持股有所下降。

值得注意的是,根据半年报数据,玉禾田15.24%股份处于质押状态。其中,第一大股东西藏天之润投资管理有限公司质押6076.20万股公司股份,占其全部持股的31.81%。
筹码集中度方面,截至2024年上半年末,公司股东总户数为1.98万户,较一季度末下降了594户,降幅2.92%;户均持股市值由一季度末的25.68万元下降至23.47万元,降幅为8.61%。

指标注解:
市盈率
=总市值/净利润。当公司亏损时市盈率为负,此时用市盈率估值没有实际意义,往往用市净率或市销率做参考。
市净率
=总市值/净资产。市净率估值法多用于盈利波动较大而净资产相对稳定的公司。
市销率
=总市值/营业收入。市销率估值法通常用于亏损或微利的成长型公司。
文中市盈率和市销率采用TTM方式,即以截至最近一期财报(含预报)12个月的数据计算。市净率采用LF方式,即以最近一期财报数据计算。
市盈率为负时,不显示当期分位数,会导致折线图中断。