龙虎榜丨酷特智能今日涨停,机构合计净卖出5687.93万元

查股网  2024-11-20 21:08  酷特智能(300840)个股分析

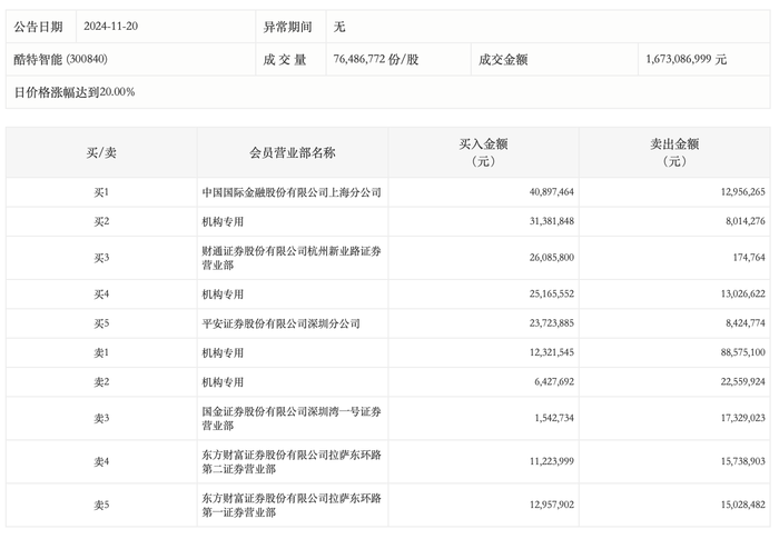
11月20日,酷特智能今日涨停,龙虎榜数据显示,上榜营业部席位全天成交3.94亿元,占当日总成交金额比例为23.52%。其中,买入金额为1.92亿元,卖出金额为2.02亿元,合计净卖出1009.97万元。

具体来看,机构买入7529.66万元,卖出1.32亿元,合计净卖出5687.93万元。此外,中国国际金融上海分公司、财通证券杭州新业路证券营业部分别买入4089.75万元、2608.58万元;国金证券深圳湾一号证券营业部、东方财富证券拉萨东环路第二证券营业部分别卖出1732.90万元、1573.89万元。