安克创新:2024年第一季度净利润3.11亿元 同比增长1.60%

中证智能财讯 安克创新(300866)4月27日披露2024年一季报。2024年第一季度,公司实现营业总收入43.78亿元,同比增长30.09%;归母净利润3.11亿元,同比增长1.60%;扣非净利润3.15亿元,同比增长29.04%;经营活动产生的现金流量净额为1.81亿元,同比下降61.73%;报告期内,安克创新基本每股收益为0.7645元,加权平均净资产收益率为3.80%。


2024年第一季度,公司毛利率为45.12%,同比上升3.58个百分点;净利率为7.45%,较上年同期下降1.74个百分点。

数据显示,2024年第一季度公司加权平均净资产收益率为3.80%,较上年同期下降0.57个百分点;公司2024年第一季度投入资本回报率为3.37%,较上年同期下降0.46个百分点。

2024年第一季度,公司经营活动现金流净额为1.81亿元,同比下降61.73%,主要系本期购买商品、接受劳务支付的现金以及支付的各项税费较去年同期增加所致;筹资活动现金流净额1.85亿元,同比增加2.06亿元,主要系本期银行借款较去年同期增加导致;投资活动现金流净额-3.44亿元,上年同期为-4937.46万元,主要系本期理财产品净现金流出较去年同期增加所致。

2024年第一季度,公司营业收入现金比为98.85%,净现比为58.23%。

资产重大变化方面,截至2024年一季度末,公司应收账款较上年末减少10.90%,占公司总资产比重下降1.75个百分点;货币资金较上年末增加13.77%,占公司总资产比重上升1.46个百分点;交易性金融资产较上年末增加16.76%,占公司总资产比重上升1.30个百分点;存货较上年末增加10.01%,占公司总资产比重上升1.03个百分点。

负债重大变化方面,截至2024年一季度末,公司长期借款较上年末增加20.40%,占公司总资产比重上升0.73个百分点;应付职工薪酬较上年末减少15.60%,占公司总资产比重下降0.91个百分点;短期借款较上年末增加34.15%,占公司总资产比重上升0.60个百分点;长期应付职工薪酬较上年末增加25.29%,占公司总资产比重上升0.45个百分点。

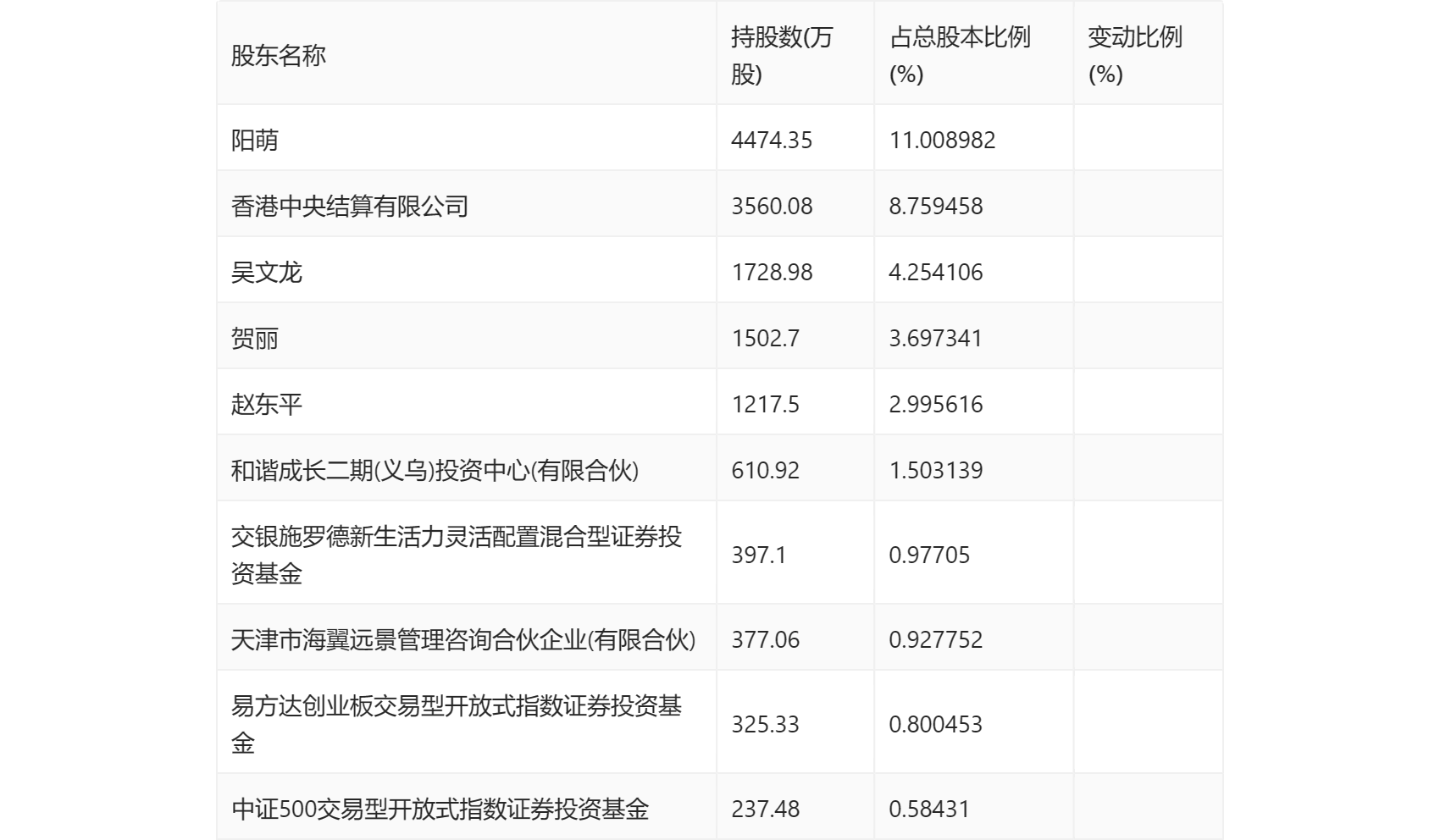
一季报显示,2024年一季度末公司十大流通股东中,新进股东为中证500交易型开放式指数证券投资基金,取代了上年末的高韬。在具体持股比例上,易方达创业板交易型开放式指数证券投资基金持股有所上升,香港中央结算有限公司、和谐成长二期(义乌)投资中心(有限合伙)、交银施罗德新生活力灵活配置混合型证券投资基金持股有所下降。

筹码集中度方面,截至2024年一季度末,公司股东总户数为1.59万户,较上年末增长了1854户,增幅13.15%;户均持股市值由上年末的255.48万元下降至196.93万元,降幅为22.92%。
