龙虎榜丨万胜智能今日涨停,机构合计净买入1219.35万元

http://ddx.gubit.cn  2023-05-15 23:05  万胜智能(300882)公司分析

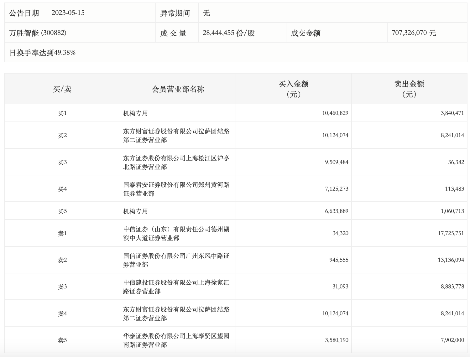
5月15日,万胜智能今日涨停,龙虎榜数据显示,上榜营业部席位全天成交1.09亿元,占当日总成交金额比例为15.46%。其中,买入金额为4844.47万元,卖出金额为6093.97万元,合计净卖出1249.5万元。

具体来看,机构买入1709.47万元,卖出490.12万元,合计净买入1219.35万元。此外,东方财富证券拉萨团结路第二证券营业部、东方证券上海松江区沪亭北路证券营业部分别买入1012.41万元、950.95万元;中信证券(山东)德州湖滨中大道证券营业部、国信证券广州东风中路证券营业部分别卖出1772.58万元、1313.61万元。