翔丰华:2024年第一季度净利润1281.46万元 同比下降76.62%

中证智能财讯 翔丰华(300890)4月18日披露2024年一季报。2024年第一季度,公司实现营业总收入3.33亿元,同比下降40.35%;归母净利润1281.46万元,同比下降76.62%;扣非净利润1165.06万元,同比下降76.85%;经营活动产生的现金流量净额为-1.18亿元,上年同期为-2.39亿元;报告期内,翔丰华基本每股收益为0.1186元,加权平均净资产收益率为0.67%。


资料显示,公司主要从事锂电池负极材料的研发、生产和销售。
2024年第一季度,公司毛利率为19.76%,同比下降1.75个百分点;净利率为3.72%,较上年同期下降6.02个百分点。

数据显示,2024年第一季度公司加权平均净资产收益率为0.67%,较上年同期下降2.63个百分点;公司2024年第一季度投入资本回报率为0.50%,较上年同期下降1.61个百分点。

2024年第一季度,公司经营活动现金流净额为-1.18亿元,同比增加1.21亿元,主要系要是本报告期支付原料货款减少所致;筹资活动现金流净额-7037.05万元,同比减少4.37亿元;投资活动现金流净额-943.54万元,上年同期为-1.28亿元,主要系本报告期购买理财产品增加所致。

2024年第一季度,公司营业收入现金比为93.92%,净现比为-918.20%。

资产重大变化方面,截至2024年一季度末,公司货币资金较上年末减少43.28%,占公司总资产比重下降4.68个百分点;交易性金融资产较上年末减少43.51%,占公司总资产比重下降3.30个百分点;固定资产较上年末减少0.69%,占公司总资产比重上升2.97个百分点;其他非流动资产较上年末增加243.01%,占公司总资产比重上升1.68个百分点。

负债重大变化方面,截至2024年一季度末,公司应付票据较上年末减少35.35%,占公司总资产比重下降3.30个百分点;应付账款较上年末减少37.90%,占公司总资产比重下降3.14个百分点;短期借款较上年末减少26.19%,占公司总资产比重下降1.81个百分点;一年内到期的非流动负债较上年末增加29.23%,占公司总资产比重上升1.17个百分点。

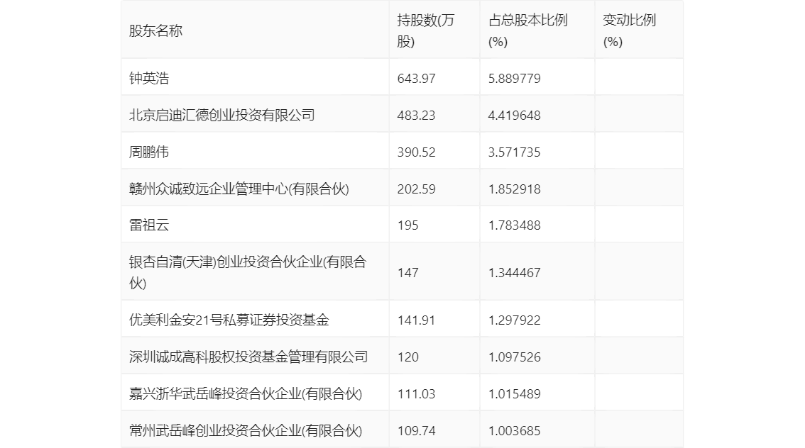
一季报显示,2024年一季度末公司十大流通股东中,新进股东为嘉兴浙华武岳峰投资合伙企业(有限合伙)、常州武岳峰创业投资合伙企业(有限合伙),取代了上年末的前海股权投资基金(有限合伙)、深圳市点石投资管理有限公司-深圳市点石创业投资合伙企业(有限合伙)。在具体持股比例上,优美利金安21号私募证券投资基金持股有所下降。

筹码集中度方面,截至2024年一季度末,公司股东总户数为2.3万户,较上年末增长了4942户,增幅27.44%;户均持股市值由上年末的20.99万元下降至15.55万元,降幅为25.92%。
