火星人:2024年第一季度净利润3688.23万元 同比下降24.52%

中证智能财讯 火星人(300894)4月26日披露2024年一季报。2024年第一季度,公司实现营业总收入3.48亿元,同比下降15.44%;归母净利润3688.23万元,同比下降24.52%;扣非净利润3380.44万元,同比下降18.07%;经营活动产生的现金流量净额为-4750.52万元,上年同期为3903.10万元;报告期内,火星人基本每股收益为0.09元,加权平均净资产收益率为2.21%。


2024年第一季度,公司毛利率为45.65%,同比下降1.23个百分点;净利率为11.21%,较上年同期下降0.60个百分点。

数据显示,2024年第一季度公司加权平均净资产收益率为2.21%,较上年同期下降0.71个百分点;公司2024年第一季度投入资本回报率为1.30%,较上年同期下降0.56个百分点。

2024年第一季度,公司经营活动现金流净额为-4750.52万元,同比减少8653.62万元;筹资活动现金流净额-501.89万元,同比减少1.40亿元;投资活动现金流净额-1.69亿元,上年同期为2.1亿元。

2024年第一季度,公司营业收入现金比为128.53%,净现比为-128.80%。

资产重大变化方面,截至2024年一季度末,公司在建工程较上年末增加28.12%,占公司总资产比重上升2.10个百分点;应收账款较上年末减少33.78%,占公司总资产比重下降1.67个百分点;货币资金较上年末减少7.44%,占公司总资产比重下降1.66个百分点;其他权益工具投资合计较上年末增加81.38%,占公司总资产比重上升0.77个百分点。

负债重大变化方面,截至2024年一季度末,公司应付账款较上年末减少34.83%,占公司总资产比重下降2.27个百分点;应付职工薪酬较上年末减少53.43%,占公司总资产比重下降0.94个百分点;合同负债较上年末减少28.34%,占公司总资产比重下降0.87个百分点;应交税费较上年末减少57.72%,占公司总资产比重下降0.40个百分点。

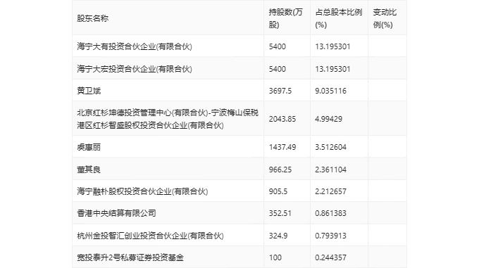
一季报显示,2024年一季度末公司十大流通股东中,新进股东为宽投泰升2号私募证券投资基金,取代了上年末的朱正耀。在具体持股比例上,香港中央结算有限公司持股有所上升,海宁大有投资合伙企业(有限合伙)、海宁大宏投资合伙企业(有限合伙)、黄卫斌、北京红杉坤德投资管理中心(有限合伙)-宁波梅山保税港区红杉智盛股权投资合伙企业(有限合伙)、虞惠丽、董其良、海宁融朴股权投资合伙企业(有限合伙)、杭州金投智汇创业投资合伙企业(有限合伙)持股有所下降。

筹码集中度方面,截至2024年一季度末,公司股东总户数为1.78万户,较上年末下降了452户,降幅2.48%;户均持股市值由上年末的36.35万元下降至29.85万元,降幅为17.88%。
