龙虎榜 | 铜牛信息今日涨停,机构合计净卖出1082.16万元

http://ddx.gubit.cn  2023-05-31 16:50  铜牛信息(300895)公司分析

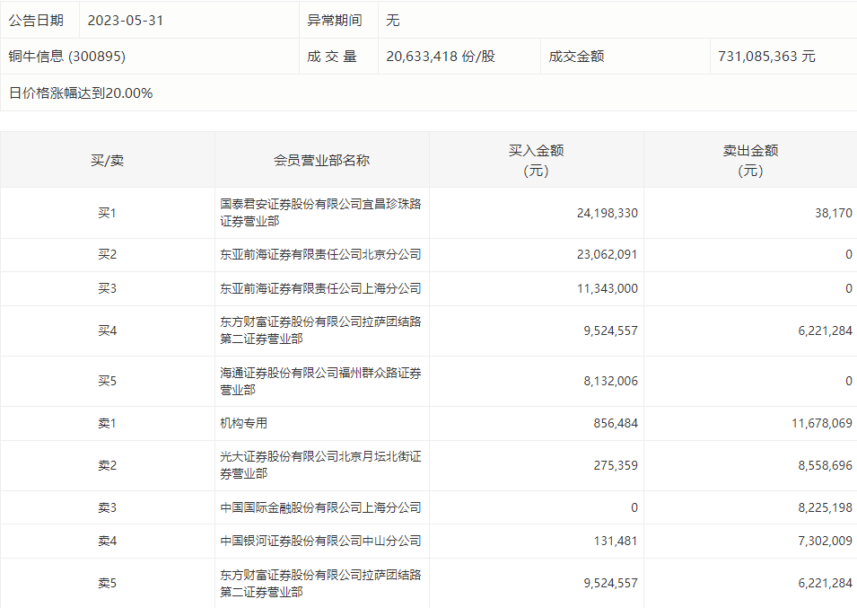
5月31日,铜牛信息今日涨停,龙虎榜数据显示,上榜营业部席位全天成交1.2亿元,占当日总成交金额比例为16.35%。其中,买入金额为7752.33万元,卖出金额为4202.34万元,合计净买入3549.99万元。

具体来看,机构买入85.65万元,卖出1167.81万元,合计净卖出1082.16万元。此外,国泰君安证券宜昌珍珠路证券营业部、东亚前海证券北京分公司分别买入2419.83万元、2306.21万元;光大证券北京月坛北街证券营业部、中国国际金融上海分公司分别卖出855.87万元、822.52万元。