龙虎榜 | 朗特智能今日涨停,机构合计净买入2042.24万元

http://ddx.gubit.cn  2023-04-19 16:53  朗特智能(300916)公司分析

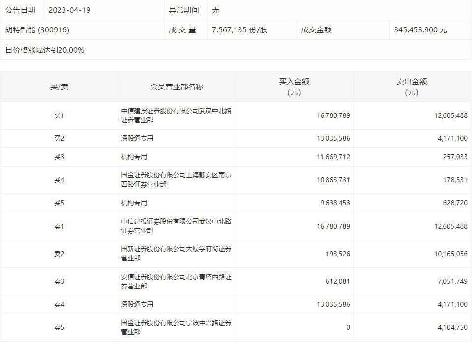
4月19日,朗特智能今日涨停,龙虎榜数据显示,上榜营业部席位全天成交1.02亿元,占当日总成交金额比例为29.51%。其中,买入金额为6279.39万元,卖出金额为3916.24万元,合计净买入2363.15万元。

具体来看,机构买入2130.82万元,卖出88.58万元,合计净买入2042.24万元。此外,中信建投证券武汉中北路证券营业部、深股通专用分别买入1678.08万元、1303.56万元;中信建投证券武汉中北路证券营业部、国新证券太原学府街证券营业部分别卖出1260.55万元、1016.51万元。