南凌科技:12月19日高管陈树林、蒋小明减持股份合计3.42万股
证券之星消息,根据12月22日市场公开信息、上市公司公告及交易所披露数据整理,南凌科技(300921)最新董监高及相关人员股份变动情况:2025年12月19日公司董事,高管陈树林、董事蒋小明共减持公司股份3.42万股,占公司总股本为0.0186%。变动期间公司股价上涨0.62%,12月19日当日收盘报22.89元。
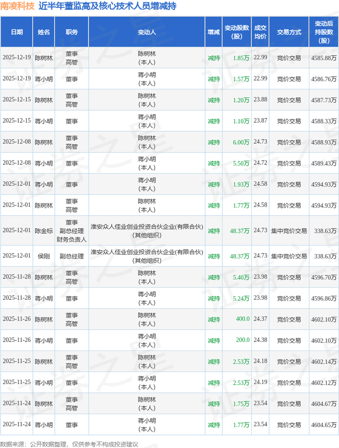
南凌科技近半年内的董监高及核心技术人员增减持详情如下:

南凌科技的高管列表及最新持股情况如下:

融资融券数据显示该股近5日融资净流出244.14万,融资余额减少;融券净流入1.25万,融券余额增加。
该股最近90天内无机构评级。
以上内容为证券之星据公开信息整理,由AI算法生成(网信算备310104345710301240019号),不构成投资建议。