共同药业:2024年上半年亏损511.86万元

中证智能财讯 共同药业(300966)8月28日披露2024年半年度报告。2024年上半年,公司实现营业收入2.34亿元,同比下降12.69%;归母净利润亏损511.86万元,上年同期盈利1747.2万元;扣非净利润亏损492.68万元,上年同期盈利1296.56万元;经营活动产生的现金流量净额为3411.45万元,上年同期为-3941.63万元;报告期内,共同药业基本每股收益为-0.04元,加权平均净资产收益率为-0.54%。

以8月27日收盘价计算,共同药业目前市盈率(TTM)约为4167.25倍,市净率(LF)约为1.82倍,市销率(TTM)约为3.24倍。

公司近年市盈率(TTM)、市净率(LF)、市销率(TTM)历史分位图如下所示:



根据半年报,公司第二季度实现营业总收入1.12亿元,同比下降24.80%,环比下降8.70%;归母净利润-866.59万元,同比下降164.44%,环比下降344.30%;扣非净利润-839.14万元,同比下降165.30%,环比下降342.21%。

半年报显示,公司自设立以来,主要从事甾体药物原料的研发、生产及销售,致力于“为客户提供最好的产品和服务”,公司主要产品为甾体药物生产所需的起始物料、中间体和原料药。
2024年上半年,公司毛利率为17.38%,同比下降4.93个百分点;净利率为-2.95%,较上年同期下降9.16个百分点。从单季度指标来看,2024年第二季度公司毛利率为12.80%,同比下降11.26个百分点,环比下降8.77个百分点;净利率为-8.76%,较上年同期下降17.51个百分点,较上一季度下降11.13个百分点。

数据显示,2024年上半年公司加权平均净资产收益率为-0.54%,较上年同期下降2.40个百分点;公司2024年上半年投入资本回报率为-0.18%,较上年同期下降1.32个百分点。

2024年上半年,公司经营活动现金流净额为3411.45万元,同比增加7353.08万元;筹资活动现金流净额2.95亿元,同比增加3.21亿元;投资活动现金流净额-1.77亿元,上年同期为-2.18亿元。
进一步统计发现,2024年上半年公司自由现金流为-1.63亿元,上年同期为-1.29亿元。

2024年上半年,公司营业收入现金比为115.70%,净现比为-666.48%。

营运能力方面,2024年上半年,公司公司总资产周转率为0.09次,上年同期为0.13次(2023年上半年行业平均值为0.22次,公司位居同行业42/45);固定资产周转率为0.65次,上年同期为1.40次(2023年上半年行业平均值为0.92次,公司位居同行业9/45);公司应收账款周转率、存货周转率分别为1.15次、0.49次。

2024年上半年,公司期间费用为5654.41万元,较上年同期增加778.23万元;期间费用率为24.18%,较上年同期上升5.97个百分点。其中,销售费用同比增长1.9%,管理费用同比增长27.13%,研发费用同比下降3.6%,财务费用同比增长64.87%。
资料显示,管理费用的变动主要因为管理人员增加导致的职工薪酬增加、安全环保投入增加;财务费用的变动主要因为银行借款增加及利息收入减少。

资产重大变化方面,截至2024年上半年末,公司在建工程较上年末减少10.58%,占公司总资产比重下降10.17个百分点;固定资产较上年末增加147.71%,占公司总资产比重上升10.13个百分点;货币资金较上年末增加67.22%,占公司总资产比重上升3.55个百分点;存货较上年末减少1.67%,占公司总资产比重下降2.13个百分点。

负债重大变化方面,截至2024年上半年末,公司长期借款较上年末增加43.57%,占公司总资产比重上升3.82个百分点;应付票据较上年末减少58.78%,占公司总资产比重下降5.64个百分点;短期借款较上年末增加114.61%,占公司总资产比重上升4.02个百分点;应付账款较上年末增加33.39%,占公司总资产比重上升2.29个百分点。

从存货变动来看,截至2024年上半年末,公司存货账面价值为3.9亿元,占净资产的41.14%,较上年末减少659.64万元。其中,存货跌价准备为626.16万元,计提比例为1.58%。

在偿债能力方面,公司2024年上半年末资产负债率为62.46%,相比上年末上升4.29个百分点;有息资产负债率为38.93%,相比上年末上升6.85个百分点。

2024年上半年,公司流动比率为1.22,速动比率为0.73。

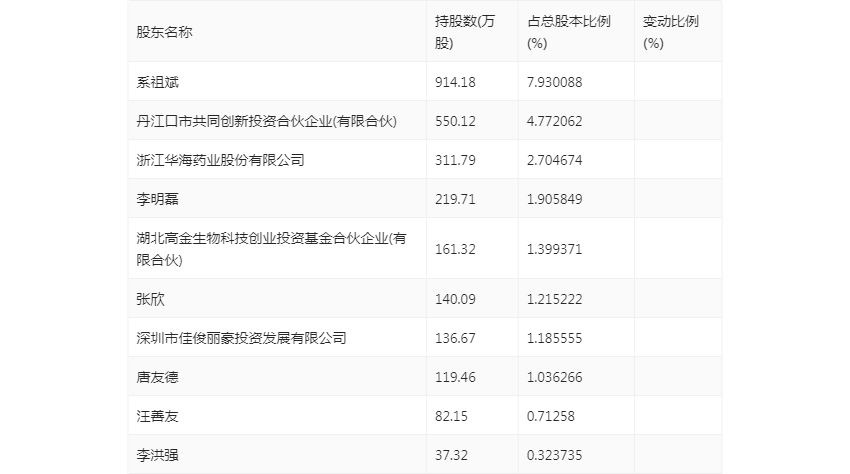
半年报显示,2024年上半年末公司十大流通股东中,新进股东为系祖斌、丹江口市共同创新投资合伙企业(有限合伙)、张欣、李洪强,取代了一季度末的湖北高投鑫龙投资管理有限公司-湖北高龙健康产业投资基金合伙企业(有限合伙)、钱晓汇、王永寿、蒋建军。在具体持股比例上,浙江华海药业股份有限公司、李明磊、湖北高金生物科技创业投资基金合伙企业(有限合伙)、深圳市佳俊丽豪投资发展有限公司、唐友德、汪善友持股有所下降。

筹码集中度方面,截至2024年上半年末,公司股东总户数为1.53万户,较一季度末增长了527户,增幅3.56%;户均持股市值由一季度末的13.15万元下降至12.30万元,降幅为6.46%。

指标注解:
市盈率
=总市值/净利润。当公司亏损时市盈率为负,此时用市盈率估值没有实际意义,往往用市净率或市销率做参考。
市净率
=总市值/净资产。市净率估值法多用于盈利波动较大而净资产相对稳定的公司。
市销率
=总市值/营业收入。市销率估值法通常用于亏损或微利的成长型公司。
文中市盈率和市销率采用TTM方式,即以截至最近一期财报(含预报)12个月的数据计算。市净率采用LF方式,即以最近一期财报数据计算。
市盈率为负时,不显示当期分位数,会导致折线图中断。