华绿生物:2024年第一季度净利润173.95万元 同比下降98.66%

中证智能财讯 华绿生物(300970)4月23日披露2024年一季报。2024年第一季度,公司实现营业总收入2.57亿元,同比下降22.75%;归母净利润173.95万元,同比下降98.66%;扣非净利润81.77万元,同比下降99.36%;经营活动产生的现金流量净额为3561.39万元,同比下降74.90%;报告期内,华绿生物基本每股收益为0.02元,加权平均净资产收益率为0.11%。


2024年第一季度,公司毛利率为8.11%,同比下降35.25个百分点;净利率为0.94%,较上年同期下降38.32个百分点。

数据显示,2024年第一季度公司加权平均净资产收益率为0.11%,较上年同期下降8.55个百分点;公司2024年第一季度投入资本回报率为0.08%,较上年同期下降6.75个百分点。

2024年第一季度,公司经营活动现金流净额为3561.39万元,同比下降74.90%;筹资活动现金流净额-5828.48万元,同比减少9597.40万元;投资活动现金流净额-5038.37万元,上年同期为1444.41万元。

2024年第一季度,公司营业收入现金比为101.57%,净现比为2047.31%。

资产重大变化方面,截至2024年一季度末,公司货币资金较上年末减少17.82%,占公司总资产比重下降2.92个百分点;在建工程较上年末增加36.40%,占公司总资产比重上升1.80个百分点;固定资产较上年末减少2.12%,占公司总资产比重上升0.66个百分点;其他非流动资产较上年末增加57.62%,占公司总资产比重上升0.65个百分点。

负债重大变化方面,截至2024年一季度末,公司一年内到期的非流动负债较上年末减少34.06%,占公司总资产比重下降0.96个百分点;其他应付款(含利息和股利)较上年末减少14.26%,占公司总资产比重下降0.32个百分点;长期借款较上年末减少3.90%,占公司总资产比重下降0.05个百分点;应付账款较上年末减少7.38%,占公司总资产比重下降0.16个百分点。

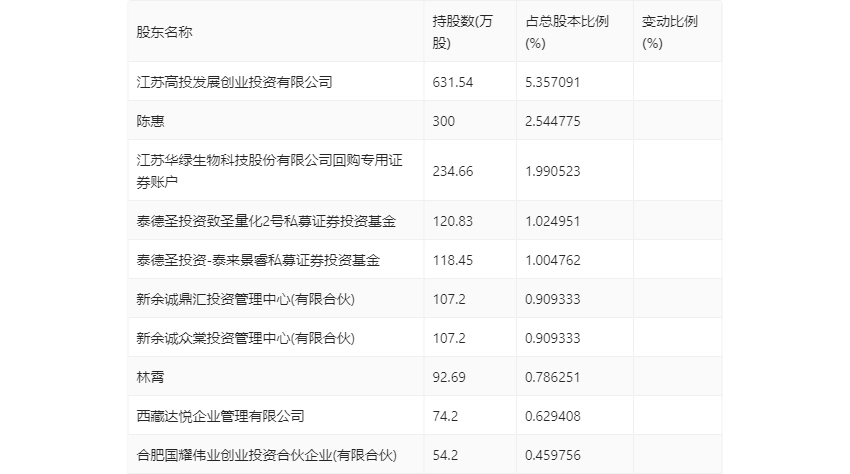
一季报显示,2024年一季度末公司十大流通股东中,新进股东为江苏华绿生物科技股份有限公司回购专用证券账户、泰德圣投资致圣量化2号私募证券投资基金、泰德圣投资-泰来景睿私募证券投资基金,取代了上年末的中信证券股份有限公司、BARCLAYS BANK PLC、光大保德信量化核心证券投资基金。在具体持股比例上,林霄持股有所下降。

筹码集中度方面,截至2024年一季度末,公司股东总户数为1.28万户,较上年末下降了855户,降幅6.27%;户均持股市值由上年末的14.92万元下降至12.40万元,降幅为16.89%。
