龙虎榜丨致远新能今日涨停,上榜营业部席位合计净买入4667.76万元

http://ddx.gubit.cn  2023-03-29 16:40  致远新能(300985)公司分析

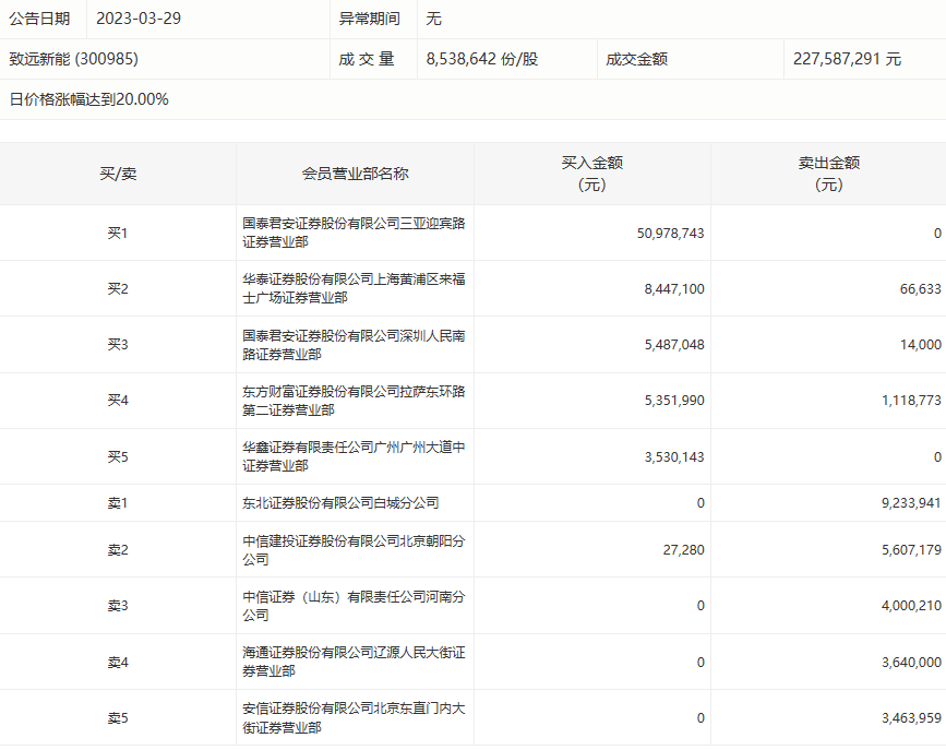
3月29日,致远新能今日涨停,龙虎榜数据显示,上榜营业部席位全天成交1.01亿元,占当日总成交金额比例为44.36%。其中,买入金额为7382.23万元,卖出金额为2714.47万元,合计净买入4667.76万元。

具体来看,国泰君安证券三亚迎宾路证券营业部、华泰证券上海黄浦区来福士广场证券营业部分别买入5097.87万元、844.71万元;东北证券白城分公司、中信建投证券北京朝阳分公司分别卖出923.39万元、560.72万元。