志特新材:2024年第一季度亏损1803.80万元

中证智能财讯 志特新材(300986)4月23日披露2024年一季报。2024年第一季度,公司实现营业总收入4.50亿元,同比增长18.33%;归母净利润亏损1803.80万元,上年同期盈利184.57万元;扣非净利润亏损3183.16万元,上年同期亏损837.62万元;经营活动产生的现金流量净额为-1.08亿元,上年同期为1462.01万元;报告期内,志特新材基本每股收益为-0.0732元,加权平均净资产收益率为-1.21%。


2024年第一季度,公司毛利率为21.72%,同比下降2.37个百分点;净利率为-4.62%,较上年同期下降4.39个百分点。

数据显示,2024年第一季度公司加权平均净资产收益率为-1.21%,较上年同期下降1.34个百分点;公司2024年第一季度投入资本回报率为0.38%,较上年同期增长1.32个百分点。

2024年第一季度,公司经营活动现金流净额为-1.08亿元,同比减少1.23亿元,主要系本期由于销售商品收到的现金流量小于对外采购付的现金流量,导致经营活动现金净流量较同期有所下降所致;筹资活动现金流净额1.88亿元,同比增加1.53亿元,主要系本期取得借款大于同期,导致较同期有所增长所致;投资活动现金流净额-2.67亿元,上年同期为-7102.77万元,主要系本期由于购买固定资产支出大于上期。本期将闲置资金购买理财,期末未到期赎回,以上原因导致本期投资活动现金净流量较上期下降所致。

2024年第一季度,公司营业收入现金比为128.79%。

资产重大变化方面,截至2024年一季度末,公司交易性金融资产较上年末增加326.40%,占公司总资产比重上升3.78个百分点;货币资金较上年末减少34.30%,占公司总资产比重下降3.52个百分点;应收账款较上年末减少10.45%,占公司总资产比重下降2.66个百分点;无形资产较上年末增加28.71%,占公司总资产比重上升1.36个百分点。

负债重大变化方面,截至2024年一季度末,公司短期借款较上年末增加14.37%,占公司总资产比重上升2.42个百分点;应付账款较上年末减少19.04%,占公司总资产比重下降2.07个百分点;长期借款较上年末减少16.02%,占公司总资产比重下降1.61个百分点;合同负债较上年末增加22.49%,占公司总资产比重上升0.81个百分点。

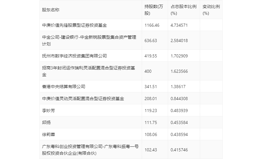
一季报显示,2024年一季度末公司十大流通股东中,新进股东为邱扬、徐莉蓉、广东粤科创业投资管理有限公司-广东粤科振粤一号股权投资合伙企业(有限合伙),取代了上年末的国泰区位优势混合型证券投资基金、光大永明资管-兴业银行-光大永明资产聚财121号定向资产管理产品、中信证券股份有限公司。在具体持股比例上,香港中央结算有限公司持股有所上升,招商3年封闭运作瑞利灵活配置混合型证券投资基金、李妙芳持股有所下降。

筹码集中度方面,截至2024年一季度末,公司股东总户数为9842户,较上年末增长了326户,增幅3.43%;户均持股市值由上年末的32.96万元下降至22.23万元,降幅为32.55%。
