龙虎榜丨蕾奥规划今日涨停,机构合计净买入187.67万元

http://ddx.gubit.cn  2023-06-06 16:44  蕾奥规划(300989)公司分析

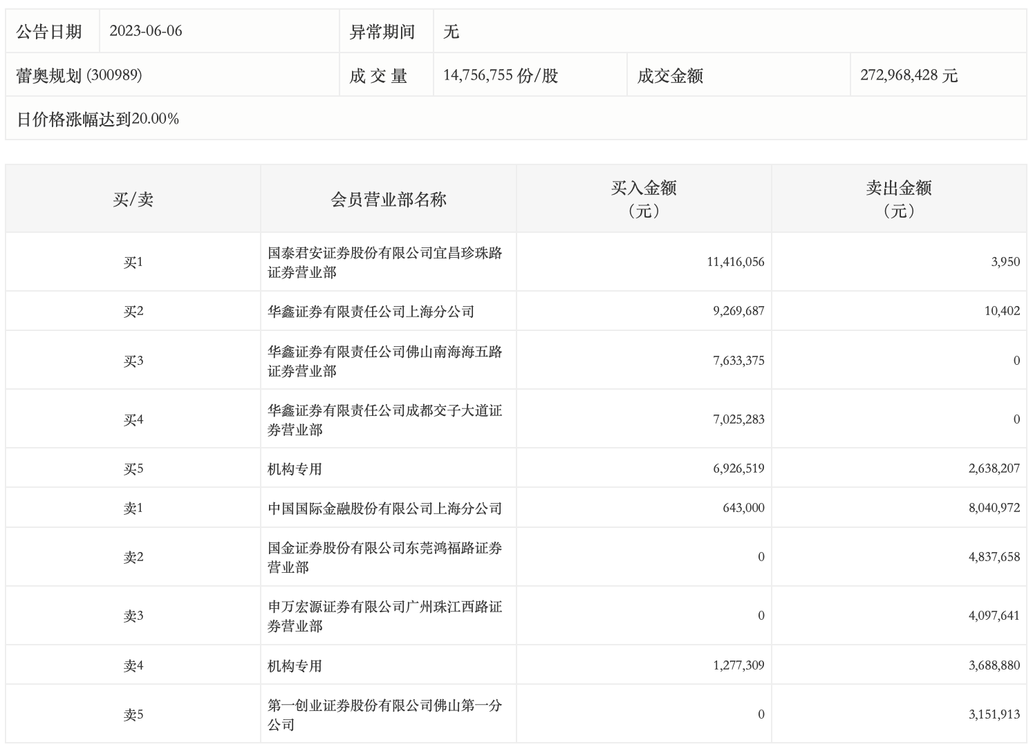
6月6日,蕾奥规划今日涨停,龙虎榜数据显示,上榜营业部席位全天成交7066.09万元,占当日总成交金额比例为25.89%。其中,买入金额为4419.12万元,卖出金额为2646.96万元,合计净买入1772.16万元。

具体来看,机构买入820.38万元,卖出632.71万元,合计净买入187.67万元。此外,国泰君安证券宜昌珍珠路证券营业部、华鑫证券上海分公司分别买入1141.61万元、926.97万元;中国国际金融上海分公司、国金证券东莞鸿福路证券营业部分别卖出804.10万元、483.77万元。