龙虎榜丨蕾奥规划今日涨17.13%,机构合计净买入1340.14万元

http://ddx.gubit.cn  2023-07-19 16:31  蕾奥规划(300989)公司分析

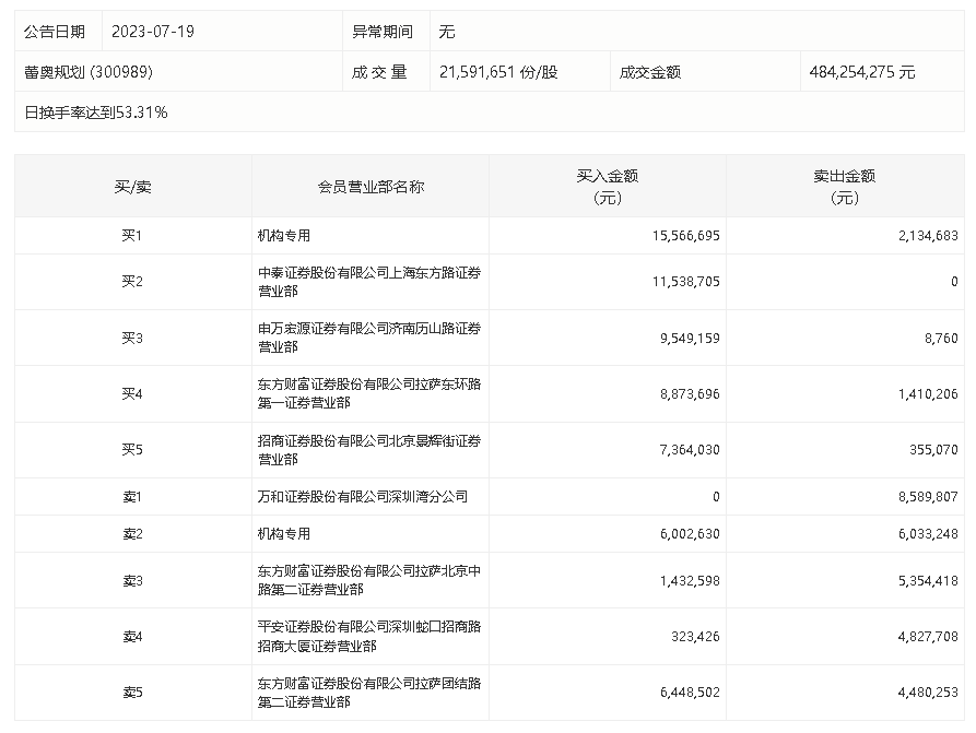
7月19日,蕾奥规划今日涨17.13%,龙虎榜数据显示,上榜营业部席位全天成交1.0亿元,占当日总成交金额比例为20.71%。其中,买入金额为6709.94万元,卖出金额为3319.42万元,合计净买入3390.53万元。

具体来看,机构买入2156.93万元,卖出816.79万元,合计净买入1340.14万元。此外,中泰证券上海东方路证券营业部、申万宏源证券有限公司济南历山路证券营业部分别买入1153.87万元、954.92万元;万和证券深圳湾分公司、东方财富证券拉萨北京中路第二证券营业部分别卖出858.98万元、535.44万元。