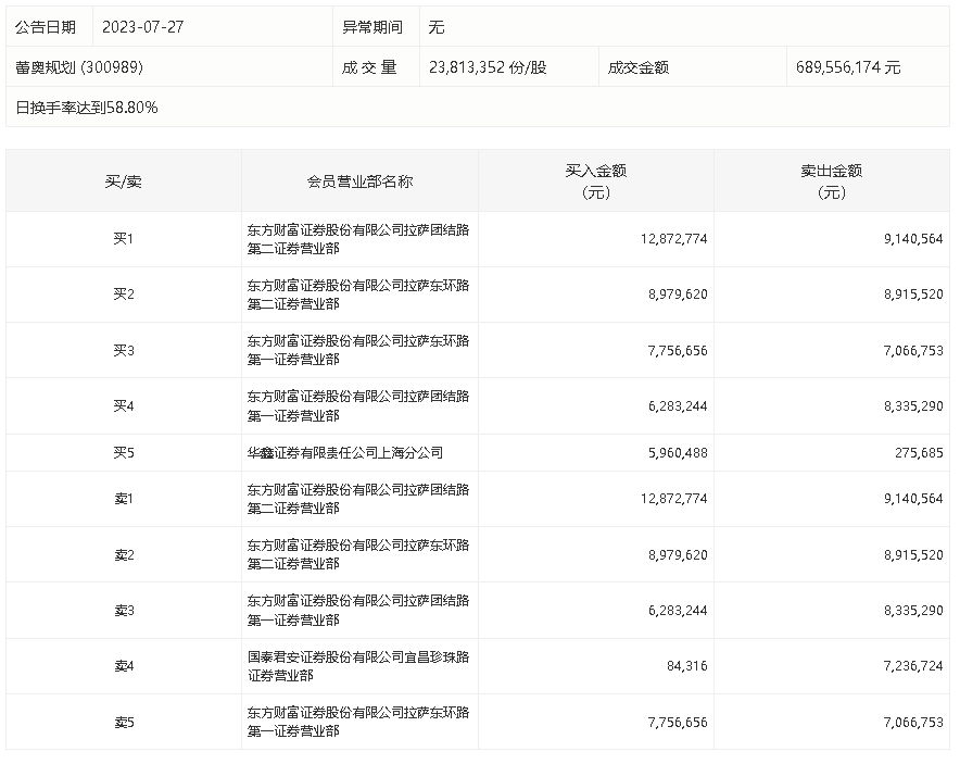
龙虎榜丨蕾奥规划今日跌12.37%,“拉萨天团”占8席

http://ddx.gubit.cn  2023-07-27 20:10  蕾奥规划(300989)公司分析

7月27日,蕾奥规划今日跌12.37%,龙虎榜数据显示,上榜营业部席位全天成交8290.76万元,占当日总成交金额比例为12.02%。其中,买入金额为4193.71万元,卖出金额为4097.05万元,合计净买入96.66万元。

具体来看,东方财富证券拉萨团结路第二证券营业部、东方财富证券拉萨东环路第二证券营业部分别卖出914.06万元、891.55万元;东方财富证券拉萨团结路第二证券营业部、东方财富证券拉萨东环路第二证券营业部分别买入1287.28万元、897.96万元。