龙虎榜丨海泰科今日涨停,机构合计净买入264.9万元

http://ddx.gubit.cn  2023-08-08 21:00  海泰科(301022)公司分析

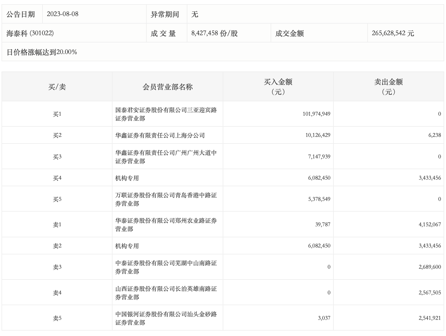
8月8日,海泰科今日涨停,龙虎榜数据显示,上榜营业部席位全天成交1.46亿元,占当日总成交金额比例为55.02%。其中,买入金额为1.31亿元,卖出金额为1539.08万元,合计净买入1.15亿元。

具体来看,机构买入608.25万元,卖出343.35万元,合计净买入264.9万元。此外,国泰君安证券三亚迎宾路证券营业部、华鑫证券上海分公司分别买入1.02亿元、1012.64万元;华泰证券郑州农业路证券营业部、中泰证券芜湖中山南路证券营业部分别卖出415.21万元、268.96万元。