龙虎榜 | 读客文化今日涨16.43%,机构合计净买入1708.93万元

http://ddx.gubit.cn  2023-05-08 20:49  读客文化(301025)公司分析

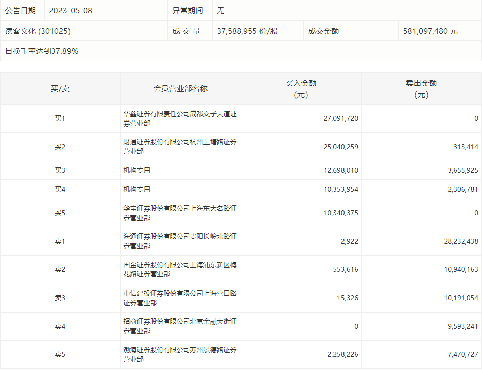
5月8日,读客文化今日涨16.43%,龙虎榜数据显示,上榜营业部席位全天成交1.61亿元,占当日总成交金额比例为27.72%。其中,买入金额为8835.44万元,卖出金额为7270.37万元,合计净买入1565.07万元。

具体来看,机构买入2305.2万元,卖出596.27万元,合计净买入1708.93万元。此外,华鑫证券成都交子大道证券营业部、财通证券杭州上塘路证券营业部分别买入2709.17万元、2504.03万元;海通证券贵阳长岭北路证券营业部、国金证券上海浦东新区梅花路证券营业部分别卖出2823.24万元、1094.02万元。