东亚机械:2024年第一季度净利润5113.44万元 同比增长32.93%

中证智能财讯 东亚机械(301028)4月25日披露2024年一季报。2024年第一季度,公司实现营业总收入2.82亿元,同比增长24.26%;归母净利润5113.44万元,同比增长32.93%;扣非净利润4494.20万元,同比增长31.14%;经营活动产生的现金流量净额为1369.40万元,同比下降63.82%;报告期内,东亚机械基本每股收益为0.13元,加权平均净资产收益率为3.85%。


2024年第一季度,公司毛利率为31.57%,同比上升0.88个百分点;净利率为18.11%,较上年同期上升1.19个百分点。

数据显示,2024年第一季度公司加权平均净资产收益率为3.85%,较上年同期增长0.65个百分点;公司2024年第一季度投入资本回报率为3.69%,较上年同期增长0.61个百分点。

2024年第一季度,公司经营活动现金流净额为1369.40万元,同比下降63.82%;筹资活动现金流净额2987.32万元,同比增加2987.92万元;投资活动现金流净额-4.14亿元,上年同期为-4.29亿元。

2024年第一季度,公司营业收入现金比为70.97%,净现比为26.78%。

资产重大变化方面,截至2024年一季度末,公司货币资金较上年末减少69.96%,占公司总资产比重下降19.82个百分点;应收账款较上年末增加69.78%,占公司总资产比重上升3.52个百分点;在建工程较上年末增加28.92%,占公司总资产比重上升1.72个百分点;存货较上年末减少8.31%,占公司总资产比重下降1.20个百分点。

负债重大变化方面,截至2024年一季度末,公司长期借款较上年末增加344.83%,占公司总资产比重上升1.50个百分点;合同负债较上年末增加4.36%,占公司总资产比重不变;应交税费较上年末增加73.37%,占公司总资产比重上升0.48个百分点;应付票据较上年末减少11.76%,占公司总资产比重下降0.70个百分点。

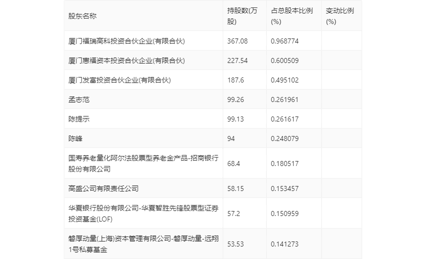
一季报显示,2024年一季度末公司十大流通股东中,新进股东为孟志范、陈提示、国寿养老量化阿尔法股票型养老金产品-招商银行股份有限公司、高盛公司有限责任公司、华夏银行股份有限公司-华夏智胜先锋股票型证券投资基金(LOF)、磐厚动量(上海)资本管理有限公司-磐厚动量-远翔1号私募基金,取代了上年末的叶国林、濮慧玲、刘少昆、基本养老保险基金一三零三组合、中国国际金融香港资产管理有限公司-CICCFT10(R)、中国国际金融股份有限公司。在具体持股比例上,陈峰持股有所上升,厦门惠福资本投资合伙企业(有限合伙)、厦门发富投资合伙企业(有限合伙)持股有所下降。

筹码集中度方面,截至2024年一季度末,公司股东总户数为1.78万户,较上年末下降了3796户,降幅17.56%;户均持股市值由上年末的20.57万元下降至18.84万元,降幅为8.41%。
