龙虎榜丨新柴股份今日跌8.88%,机构合计净卖出2189.47万元

查股网  2023-12-21 20:09  新柴股份(301032)个股分析

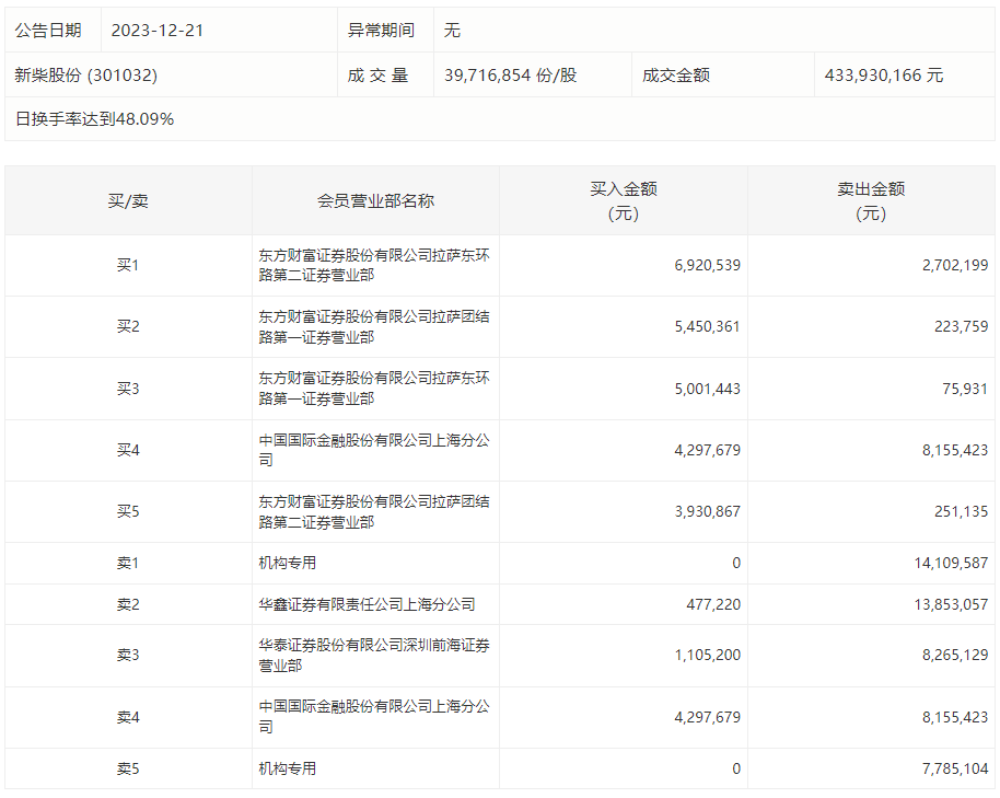
12月21日,新柴股份今日跌8.88%,全天换手率达48.09%,振幅达6.72%。龙虎榜数据显示,营业部席位合计净卖出2823.8万元。其中,机构合计净卖出2189.47万元。此外,华鑫证券上海分公司、华泰证券深圳前海证券营业部分别卖出1385.31万元、826.51万元;东方财富证券拉萨东环路第二证券营业部、东方财富证券拉萨团结路第一证券营业部分别买入692.05万元、545.04万元。