安联锐视:9月18日高管李志洋减持股份合计3.75万股
证券之星消息,根据9月19日市场公开信息、上市公司公告及交易所披露数据整理,安联锐视(301042)最新董监高及相关人员股份变动情况:2025年9月18日公司董事,高管李志洋共减持公司股份3.75万股,占公司总股本为0.0538%。变动期间公司股价上涨19.99%,9月18日当日收盘报54.92元。
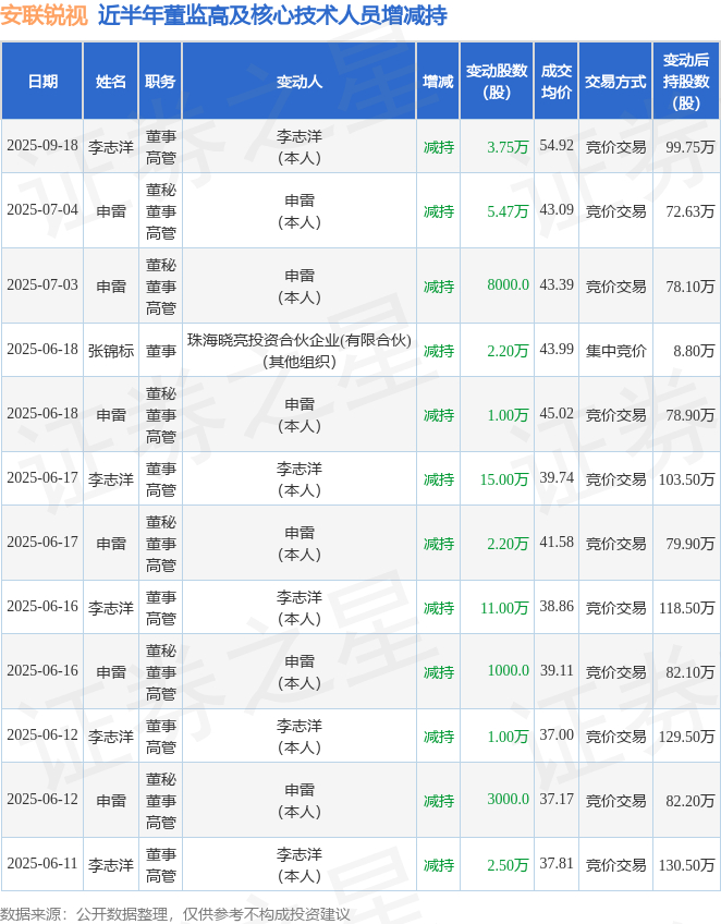
安联锐视近半年内的董监高及核心技术人员增减持详情如下:

安联锐视的高管列表及最新持股情况如下:

融资融券数据显示该股近5日融资净流入5334.6万,融资余额增加;融券净流入0.0,融券余额增加。
该股最近90天内无机构评级。
以上内容为证券之星据公开信息整理,由AI算法生成(网信算备310104345710301240019号),不构成投资建议。