龙虎榜丨金鹰重工今日涨停,机构合计净买入6464.22万元

http://ddx.gubit.cn  2023-04-21 21:00  金鹰重工(301048)公司分析

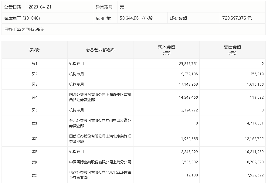
4月21日,金鹰重工今日涨停,龙虎榜数据显示,上榜营业部席位全天成交1.52亿元,占当日总成交金额比例为21.15%。其中,买入金额为9655.65万元,卖出金额为5581.63万元,合计净买入4074.02万元。

具体来看,机构买入7681.95万元,卖出1217.73万元,合计净买入6464.22万元。此外,国金证券上海静安区南京西路证券营业部、中国国际金融上海分公司分别买入1424.95万元、353.60万元;金元证券广州中山大道证券营业部、国信证券上海北京东路证券营业部分别卖出1471.76万元、1216.27万元。