龙虎榜丨金鹰重工今日涨10.57%,“拉萨天团”占四席

http://ddx.gubit.cn  2023-05-09 21:50  金鹰重工(301048)公司分析

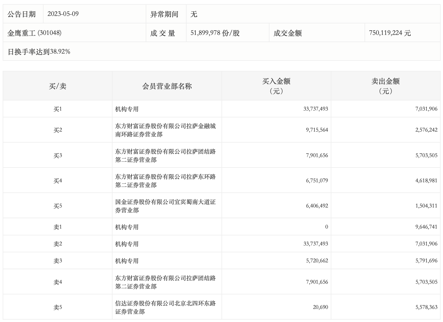
5月9日,金鹰重工今日涨10.57%,龙虎榜数据显示,上榜营业部席位全天成交1.13亿元,占当日总成交金额比例为15.02%。其中,买入金额为7025.36万元,卖出金额为4245.17万元,合计净买入2780.19万元。

具体来看,机构买入3945.82万元,卖出2247.03万元,合计净买入1698.78万元。此外,东方财富证券拉萨金融城南环路证券营业部、东方财富证券拉萨团结路第二证券营业部分别买入971.56万元、790.17万元;东方财富证券拉萨团结路第二证券营业部、信达证券北京北四环东路证券营业部分别卖出570.35万元、557.84万元。