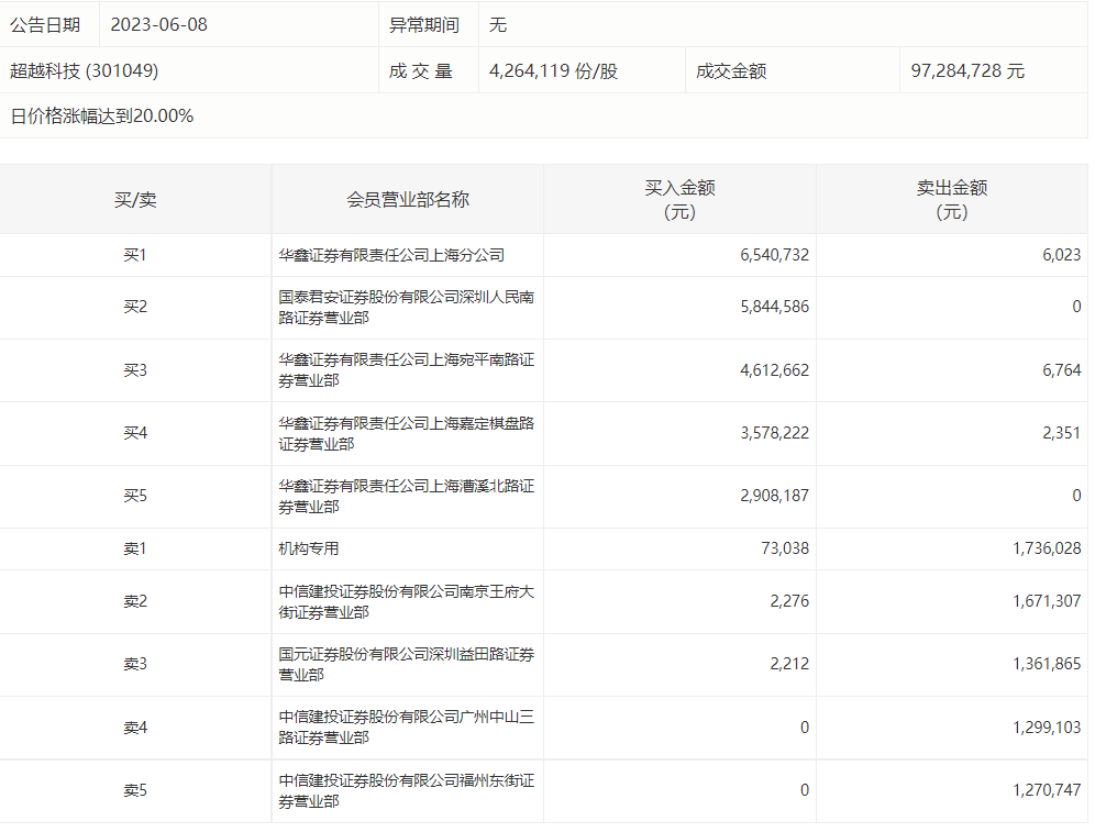
龙虎榜 | 超越科技今日涨停,知名游资炒股养家净买入460.59万元
6月8日,超越科技今日涨停,龙虎榜数据显示,上榜营业部席位全天成交3091.61万元,占当日总成交金额比例为31.78%。其中,买入金额为2356.19万元,卖出金额为735.42万元,合计净买入1620.77万元。
具体来看,机构买入7.3万元,卖出173.6万元,合计净卖出166.3万元。此外,知名游资现身龙虎榜,炒股养家(华鑫证券有限责任公司上海宛平南路证券营业部)净买入460.59万元。此外,华鑫证券上海分公司、国泰君安证券深圳人民南路证券营业部分别买入654.07万元、584.46万元;中信建投证券南京王府大街证券营业部、国元证券深圳益田路证券营业部分别卖出167.13万元、136.19万元。
