龙虎榜丨大地海洋今日跌停,机构合计净卖出138.3万元

http://ddx.gubit.cn  2023-06-16 17:18  大地海洋(301068)公司分析

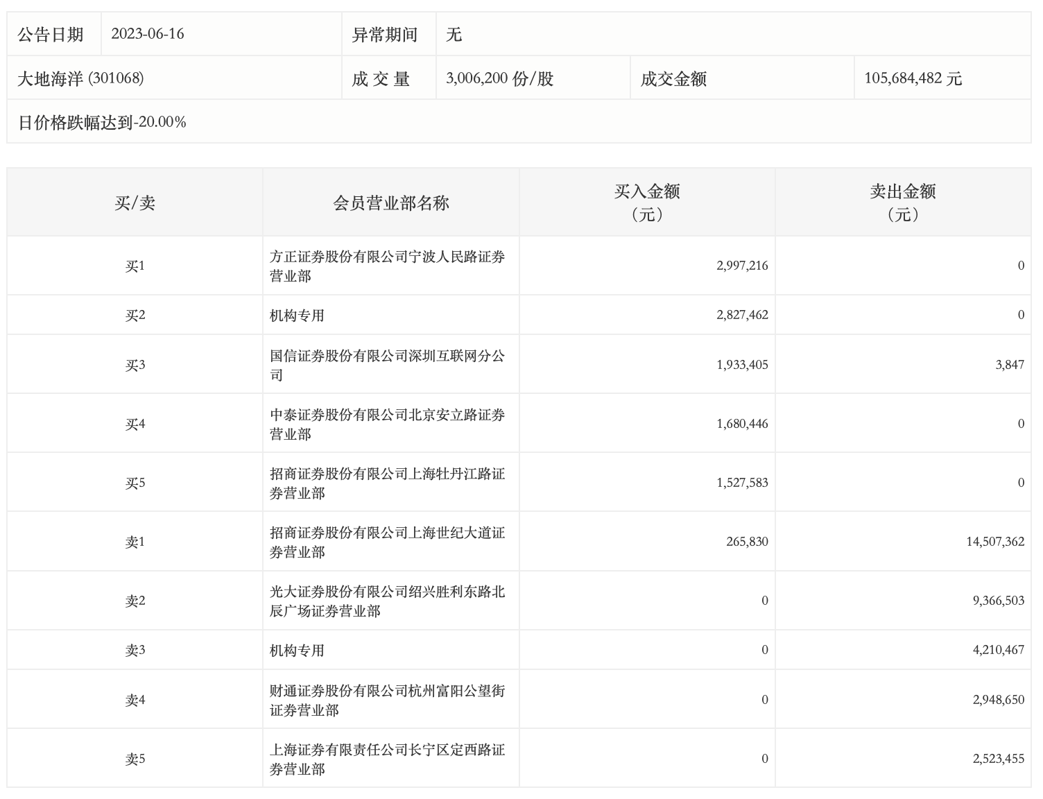
6月16日,大地海洋今日跌停,龙虎榜数据显示,上榜营业部席位全天成交4479.22万元,占当日总成交金额比例为42.38%。其中,买入金额为1123.19万元,卖出金额为3356.03万元,合计净卖出2232.83万元。

具体来看,机构买入282.75万元,卖出421.05万元,合计净卖出138.3万元。此外,招商证券上海世纪大道证券营业部、光大证券绍兴胜利东路北辰广场证券营业部分别卖出1450.74万元、936.65万元;方正证券宁波人民路证券营业部、国信证券深圳互联网分公司分别买入299.72万元、193.34万元。