龙虎榜丨亚康股份今日涨停,机构合计净卖出705.41万元

http://ddx.gubit.cn  2023-06-05 20:26  亚康股份(301085)公司分析

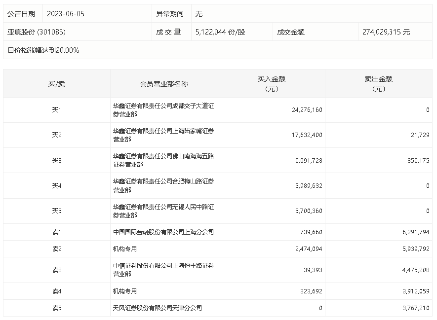
6月5日,亚康股份今日涨停,龙虎榜数据显示,上榜营业部席位全天成交8803.11万元,占当日总成交金额比例为32.12%。其中,买入金额为6326.71万元,卖出金额为2476.4万元,合计净买入3850.32万元。

具体来看,机构买入279.78万元,卖出985.19万元,合计净卖出705.41万元。此外,华鑫证券成都交子大道证券营业部、华鑫证券上海陆家嘴证券营业部分别买入2427.62万元、1763.24万元;中国国际金融上海分公司、中信证券上海恒丰路证券营业部分别卖出629.18万元、447.52万元。