龙虎榜丨拓新药业今日涨停,深股通专用买入3487.75万元并卖出5551.65万元

http://ddx.gubit.cn  2023-04-24 21:25  拓新药业(301089)公司分析

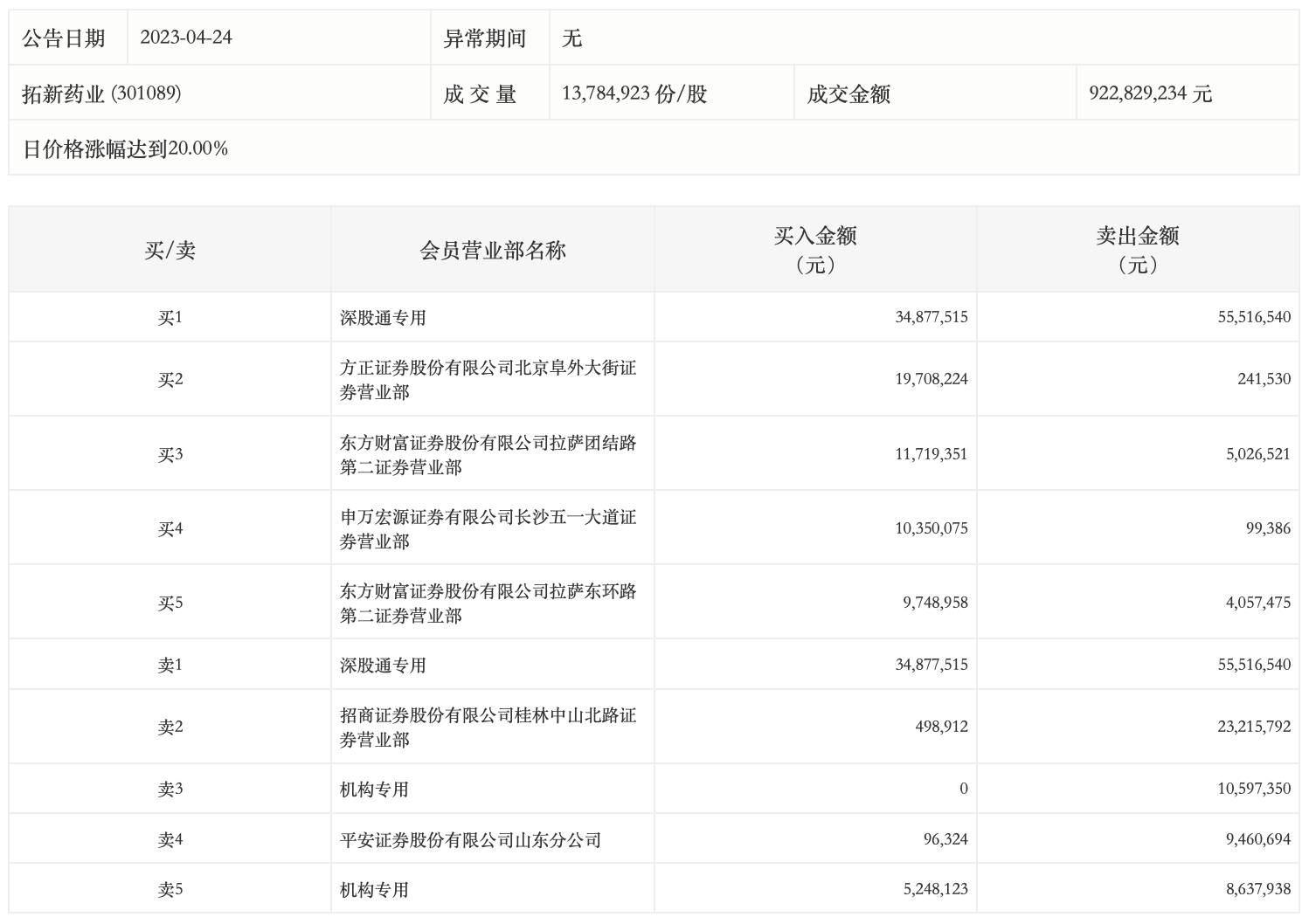
4月24日,拓新药业今日涨停,龙虎榜数据显示,上榜营业部席位全天成交2.09亿元,占当日总成交金额比例为22.66%。其中,买入金额为9224.75万元,卖出金额为1.17亿元,合计净卖出2460.57万元。

具体来看,机构买入524.81万元,卖出1923.53万元,合计净卖出1398.72万元。此外,深股通专用、方正证券北京阜外大街证券营业部分别买入3487.75万元、1970.82万元;深股通专用、招商证券桂林中山北路证券营业部分别卖出5551.65万元、2321.58万元。