龙虎榜丨骏成科技今日跌停,营业部席位合计净卖出646.63万元

查股网  2024-02-07 17:22  骏成科技(301106)个股分析

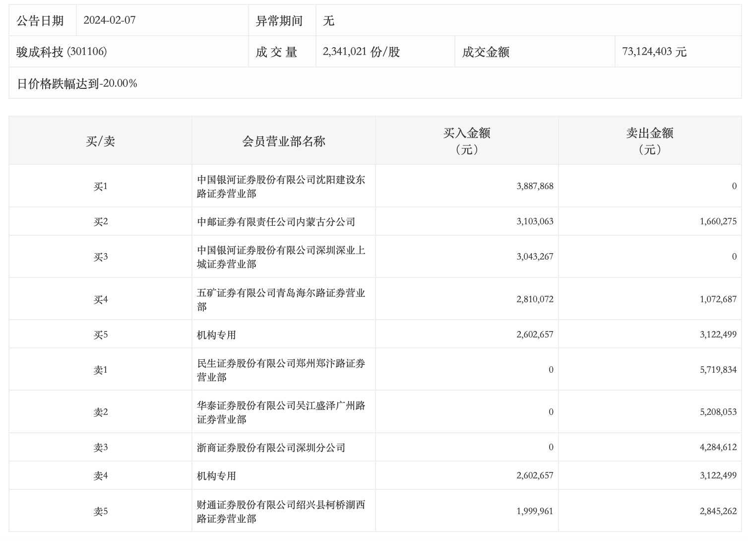
2月7日,骏成科技今日跌停,全天换手率达11.23%,振幅达20%。龙虎榜数据显示,营业部席位合计净卖出646.63万元。其中,机构买入260.27万元,卖出312.25万元,合计净卖出51.98万元。此外,民生证券郑州郑汴路证券营业部、华泰证券吴江盛泽广州路证券营业部分别卖出571.98万元、520.81万元;中国银河证券沈阳建设东路证券营业部、中邮证券内蒙古分公司分别买入388.79万元、310.31万元。